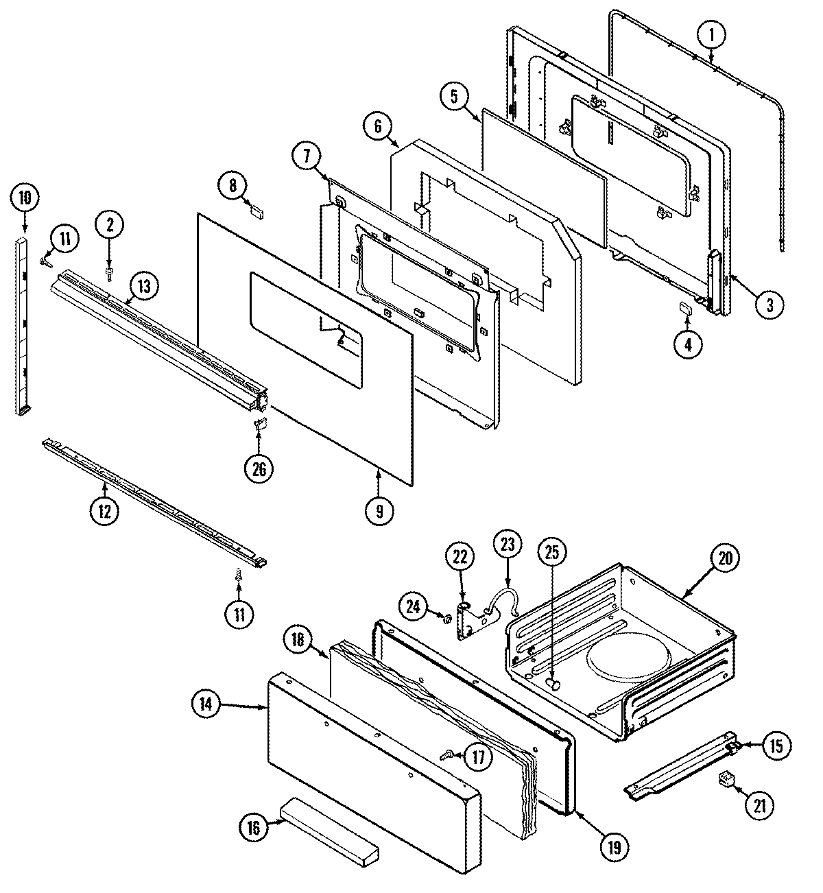
A3137XUALT 03 – DOOR/DRAWERadmin2025-04-26T09:10:58+00:00A3137XUALT 03 – DOOR/DRAWER ProductsPositionProduct1WP7212P043-60 Whirlpool Oven Door Seal Gasket2WP98008545 Whirlpool Screw3MAY 2402W213-194MAY 8010P085-605MAY 7902P319-606MAY 7002P158-607MAY 3601F240-808MAY 8270P095-609MAY 7902P321-6010MAY 7744P055-6012MAY 7744P105-6013MAY 7701P103-6014MAY 2403F028-6415MAY 3404F023-5115MAY 7101P290-6015MAY 3404F022-5116MAY 7400182016MAY 7701P012-601774002481 Whirlpool Screw18MAY 4804F025-6019MAY 2404F035-1920MAY 3407F012-1921MAY 8016P015-6021MAY 8016P011-6022MAY 3418F079-5122MAY 3418F080-5123MAY 7803P064-6023MAY 7803P065-6024MAY 7103P022-6025MAY 7113P012-6026MAY 7744P076-6026MAY 7744P075-60