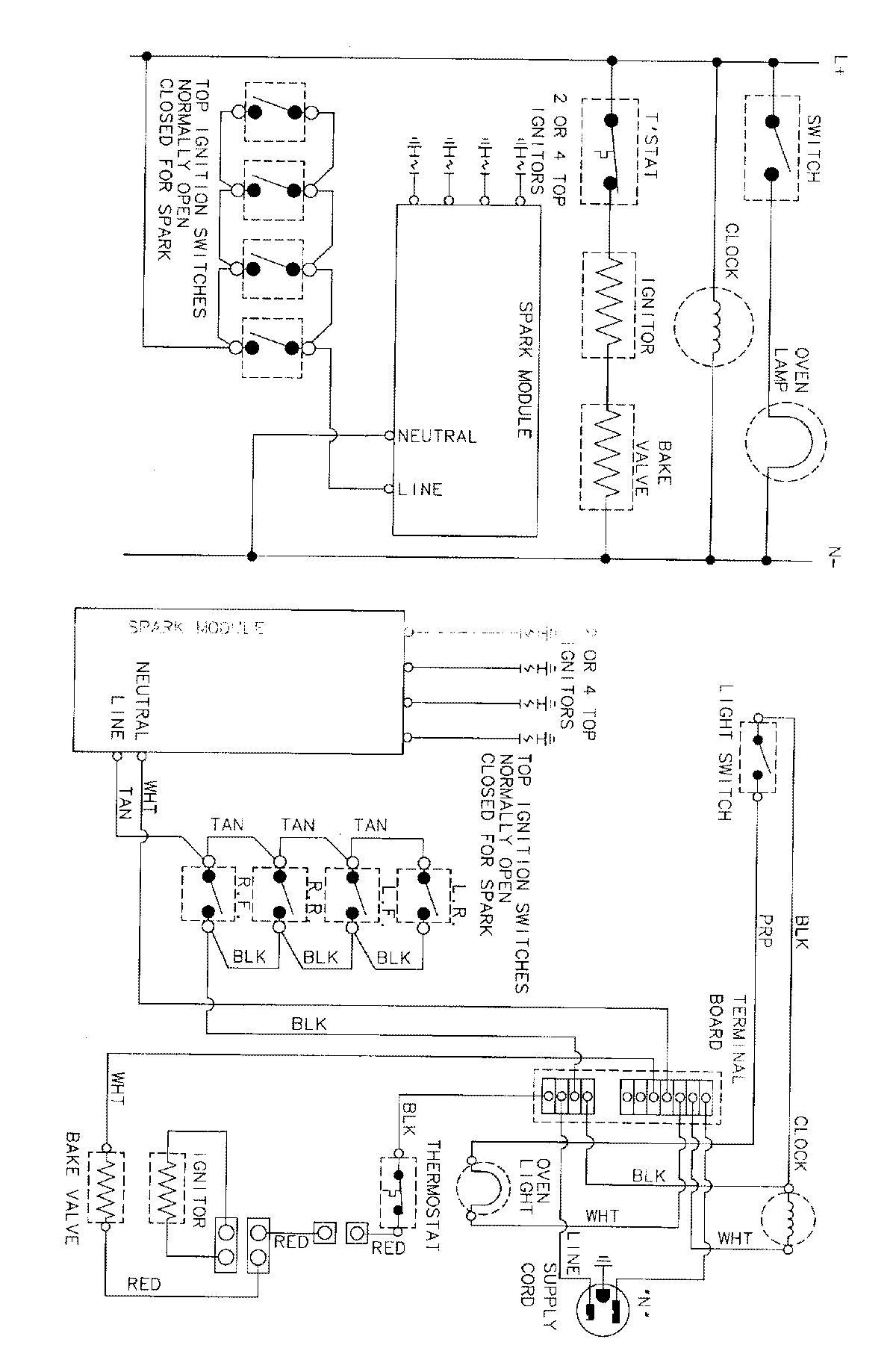
A31703SAAL 06 – WIRING INFORMATIONadmin2025-04-26T09:10:01+00:00A31703SAAL 06 – WIRING INFORMATION ProductsPositionProductNIMAY 15001767