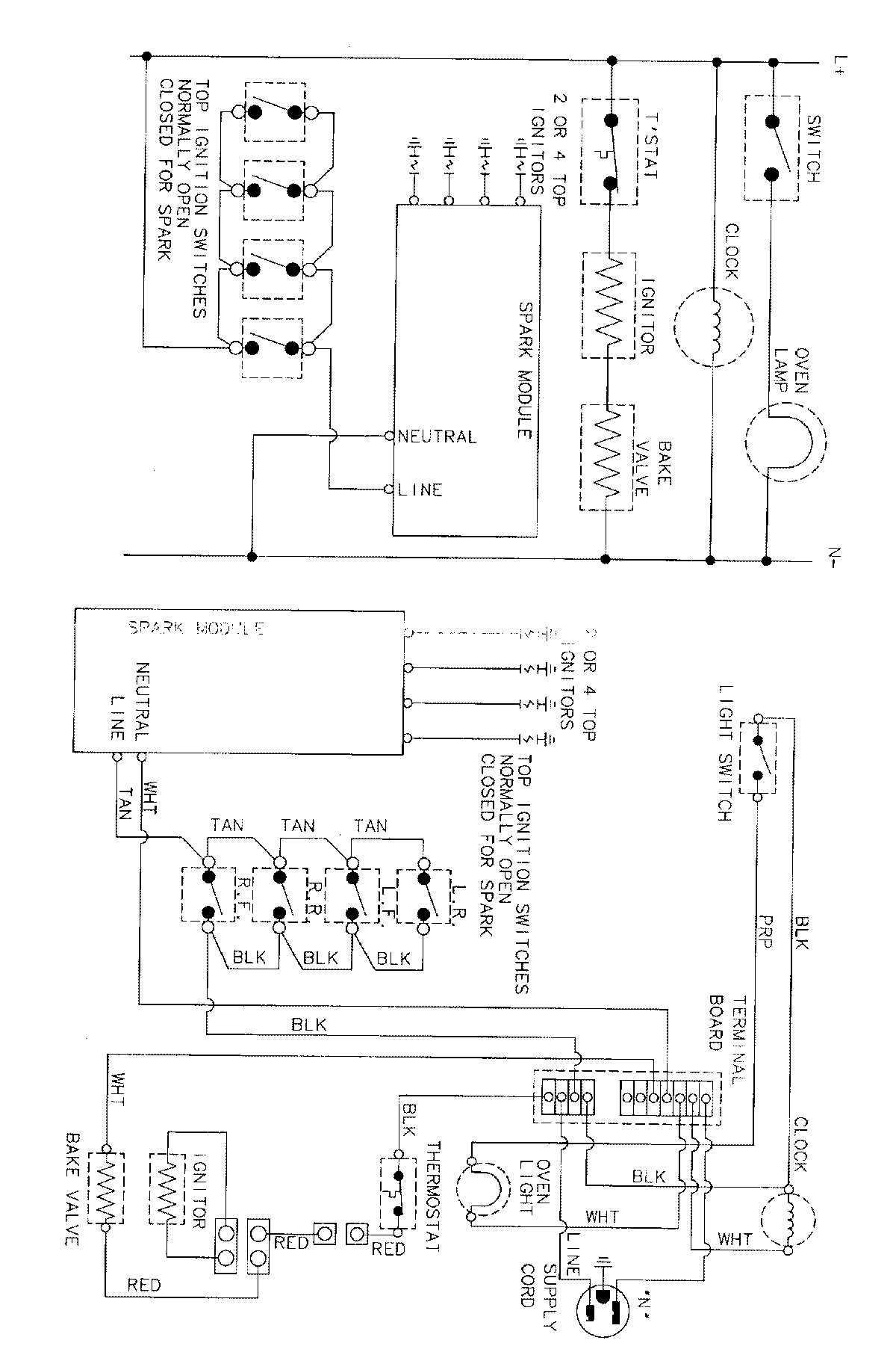
A31713XAAL 07 – WIRING INFORMATIONadmin2025-04-26T09:10:18+00:00A31713XAAL 07 – WIRING INFORMATION ProductsPositionProductNIMAY 15001767