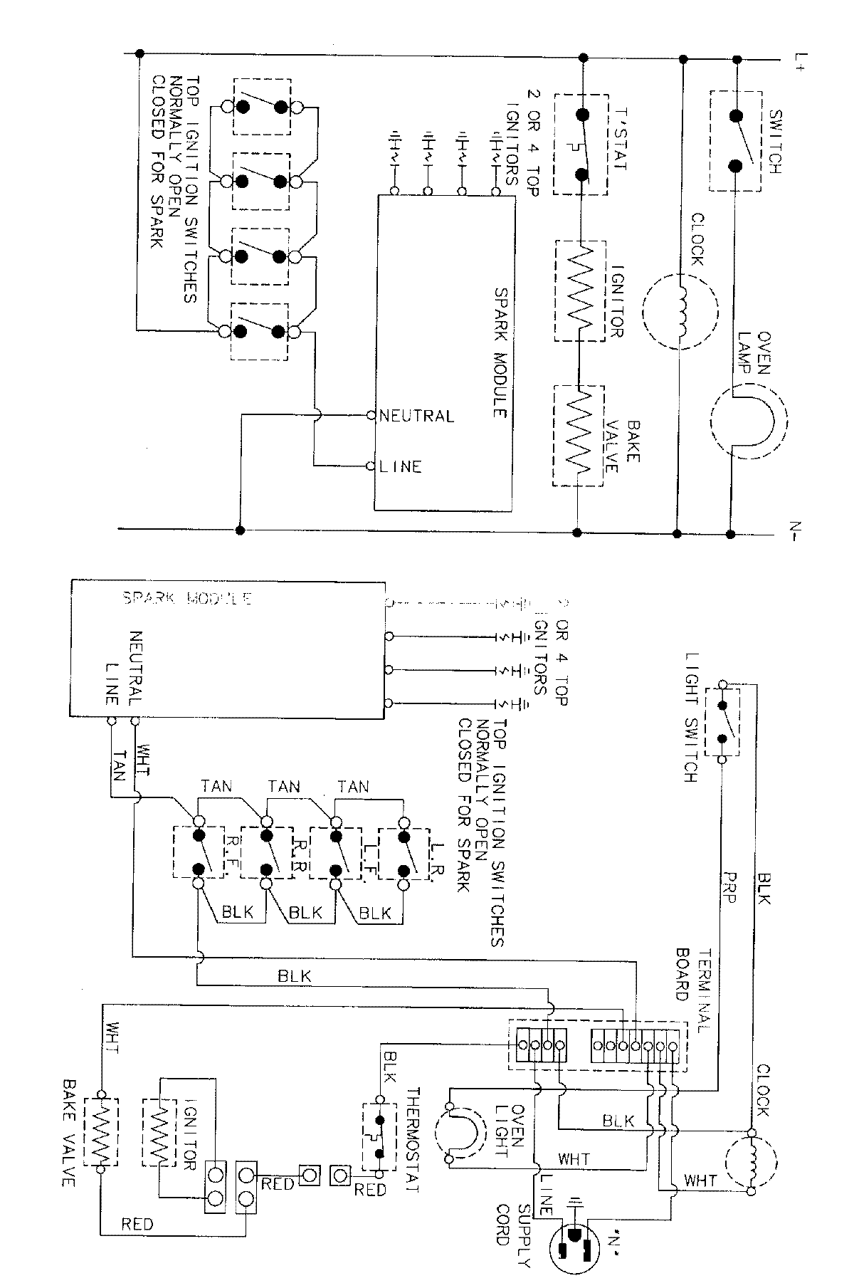
A31713XAWL 07 – WIRING INFORMATIONadmin2025-04-26T09:12:06+00:00A31713XAWL 07 – WIRING INFORMATION ProductsPositionProductNIMAY 15001767