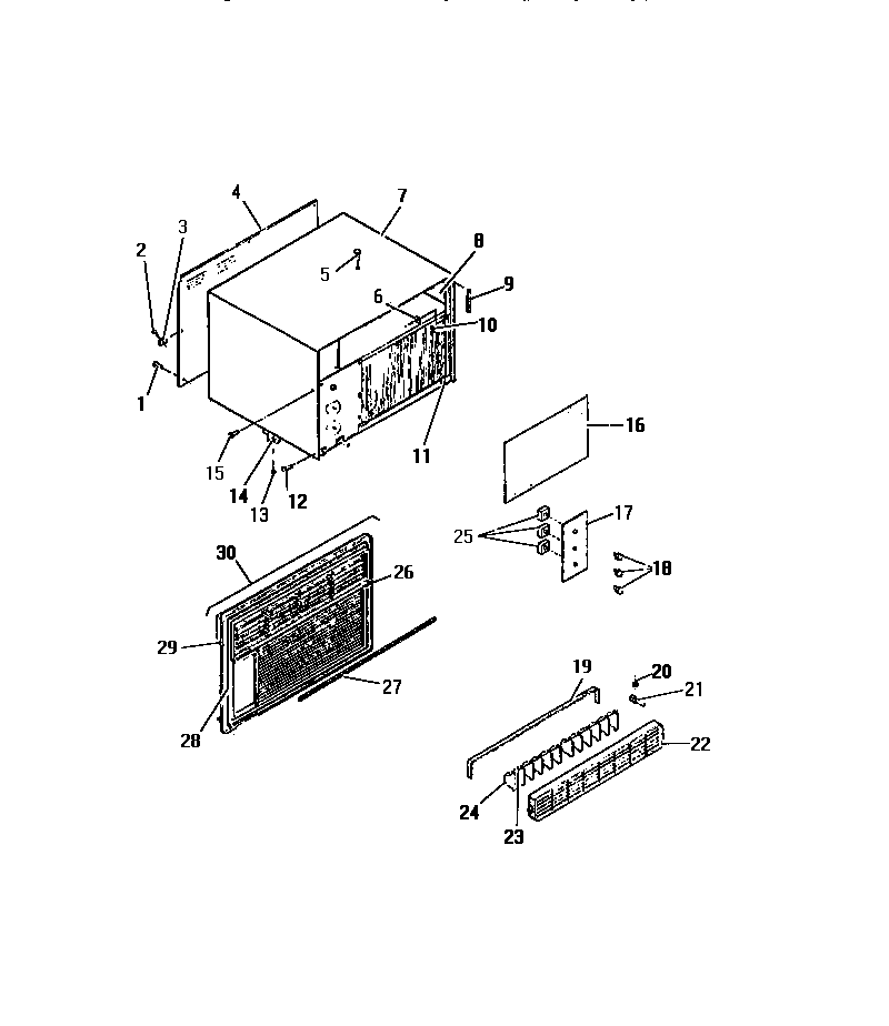
A4LCD2 29 – CABINET, FRONT (`B` CABINET MODELS)admin2025-04-26T08:42:27+00:00A4LCD2 29 – CABINET, FRONT (`B` CABINET MODELS) ProductsPositionProduct3NUT4PANEL-REAR5SCREW6WCI 80109287WCI 80109367WCI 80131788INSULATION-SHELL, L. SIDE8WCI 80093558INSULATION-SHELL, R. SIDE8WCI 80129958WCI 80129969WCI 80093599WCI 80093589SEAL-CABINET, FRONT10CLIP-CAP. TUBE11CLIP-FRONT TO BASE12SCREW13SCREW (2)14SUPPORT15SCREW-FRONT LOCKING16WCI 800902017WCI 801615117WCI 800684117WCI 800909418WCI 801610918KNOB-CONTROL (3)19WCI 800768420PAD (2)21HANDLE (2)22WCI 800784623WCI 801369724LOUVER (12)25SPACER-DIAL PLATE25SPACER26WCI 800911026WCI 801374826WCI 801633027WCI 801410127WCI 800768128WCI 801614828WCI 801614729WCI 800785930WCI 801616230WCI 801616130WCI 8016163