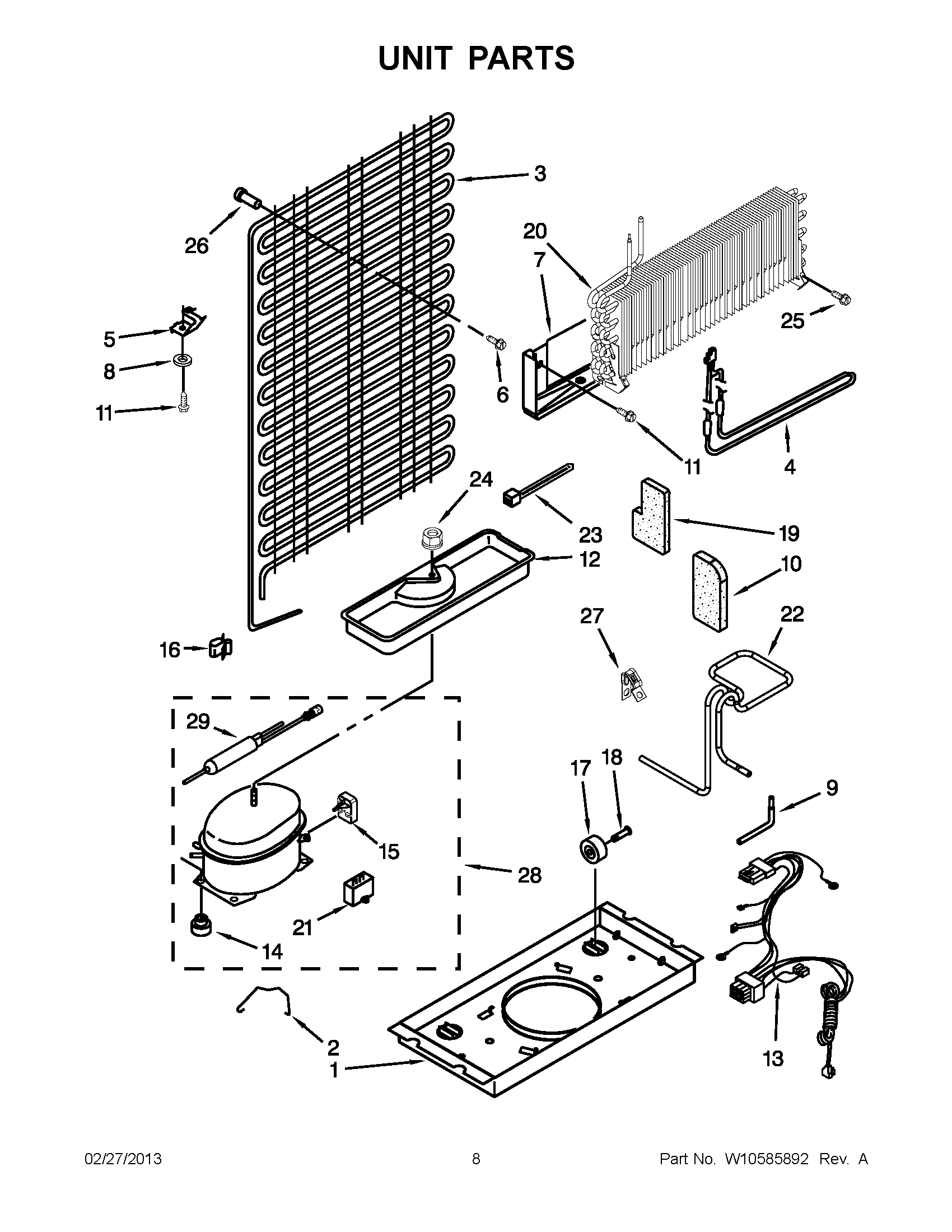
A4TXCGFBW00 04 – UNIT PARTS