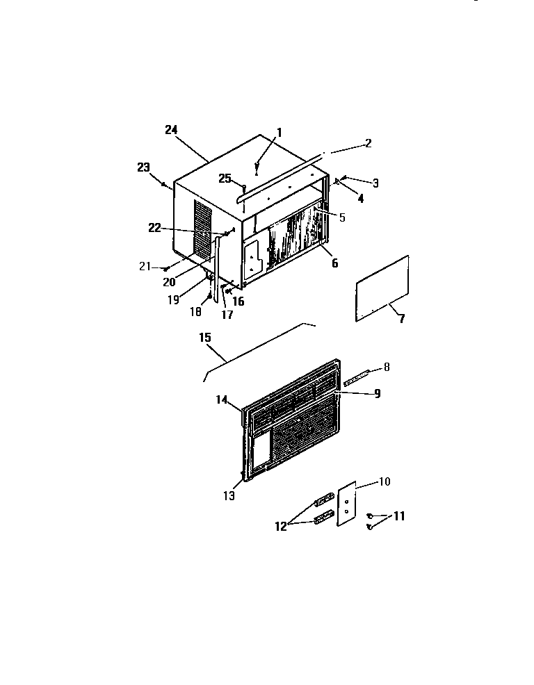
A6LECC2 08 – CABINET, FRONT (`AAA` CABINET MODEL
Products
| Position | Product |
|---|---|
| 2 | WCI 8007493 |
| 5 | CLIP-CAP. TUBE |
| 6 | CLIP (2) |
| 7 | WCI 8009018 |
| 8 | SEAL |
| 9 | WCI 8013632 |
| 10 | WCI 8006837 |
| 11 | KNOB-CONTROL (3) |
| 12 | SEAL |
| 13 | WCI 8013619 |
| 14 | WCI 8007461 |
| 15 | WCI 8013626 |
| 17 | SCREW (4) |
| 18 | SCREW (2) |
| 19 | SUPPORT |
| 20 | RETAINER (2) |
| 21 | SCREW-FRONT LOCKING |
| 22 | NUT |
| 23 | SCREW |
| 24 | SHELL |
| 25 | SCREW |