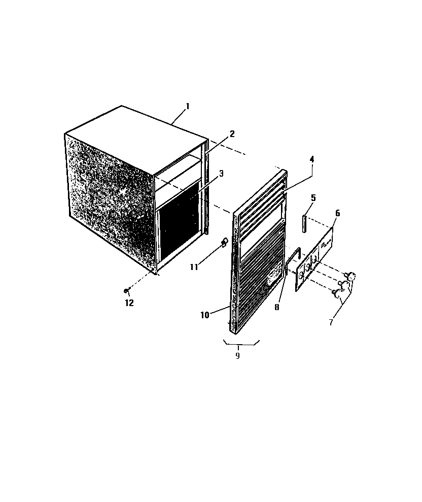
A6LECD2 02 – CABINET, FRONT (`SLIDER` MODEL)admin2025-04-26T08:42:26+00:00A6LECD2 02 – CABINET, FRONT (`SLIDER` MODEL) ProductsPositionProduct1WCI 80137972WCI 80030033WCI 80072104WCI 80137884WCI 80137874WCI 80137894WCI 80137904WCI 80137914WCI 80137924WCI 80141255WCI 80030026WCI 80161507WCI 80161098WCI 80030019WCI 801614510WCI 801623511CLIP-FRONT TO BASE12SCREW (8)