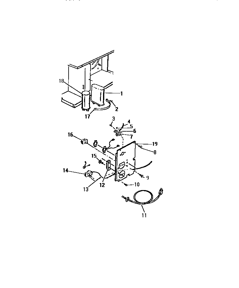
A6LECDC3 22 – CONTROLS, CAPACITORS (`B` CABINET M