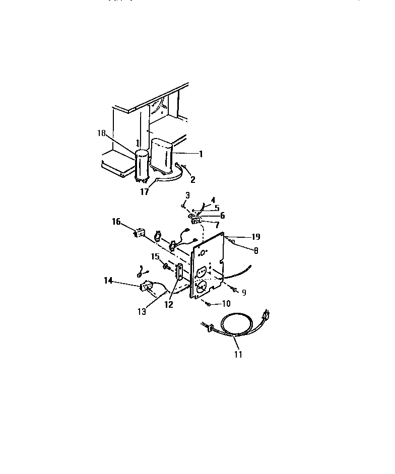
A8MECC2 22 – CONTROLS, CAPACITORS (`B` CABINET Madmin2025-04-26T08:42:26+00:00A8MECC2 22 – CONTROLS, CAPACITORS (`B` CABINET M ProductsPositionProduct1WCI 80091531WCI 80091522SCREW3WCI 80110954CABLE-VENT DOOR5WCI 80071946WCI 80029467WCI 80076828WCI 80091579SCREW-CONTROL MTG10SCREW (4)11WCI 800688112WCI 801268413INSULATOR-CAP TUBE14THERMOSTAT-CONTL15WCI 801268516SWITCH, SELECTOR17WCI 800679818CAPACITOR-RUN18CAPACITOR, RUN19BRACKET-CONTROL