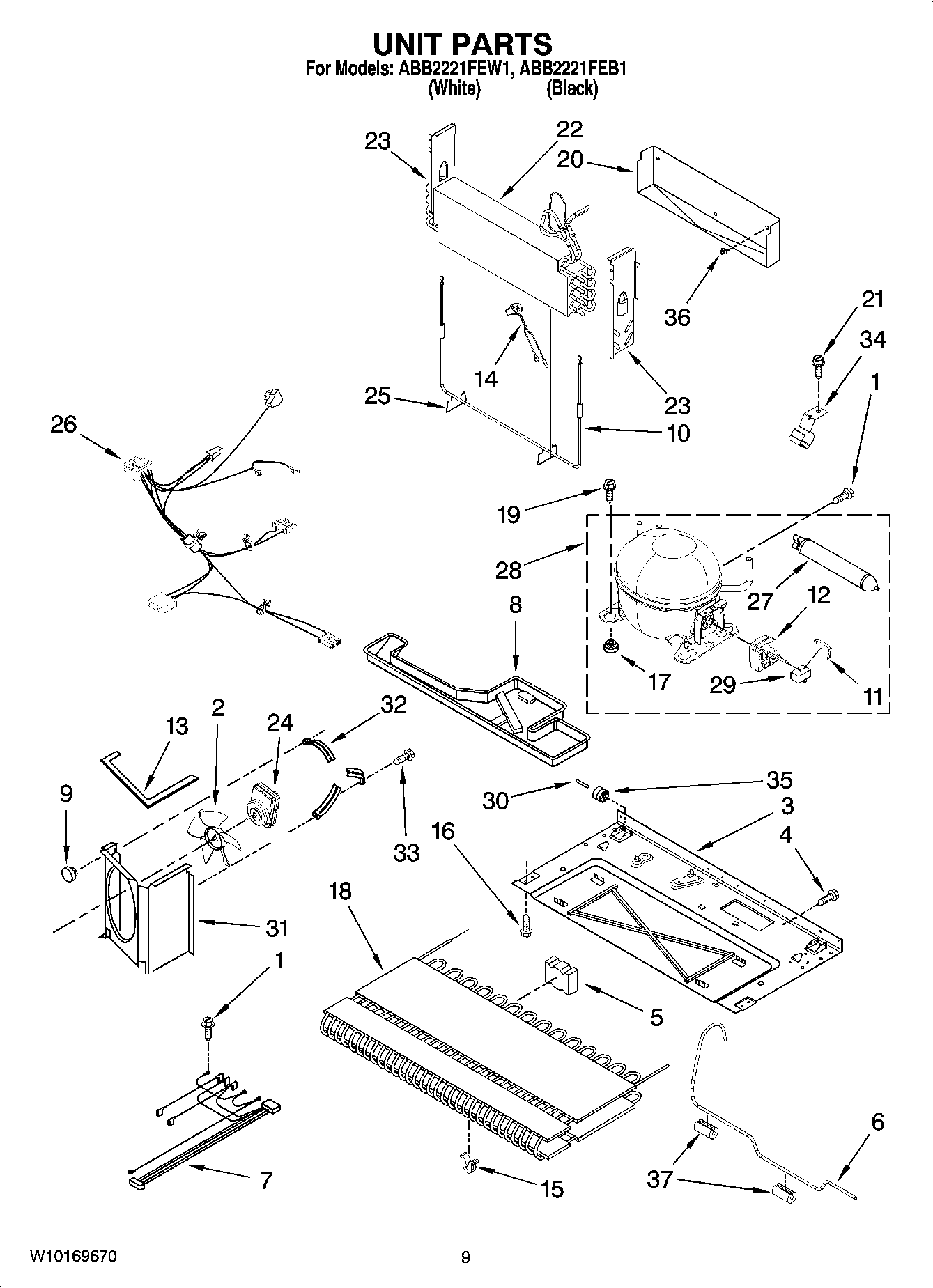
ABB2221FEB1 06 – UNIT PARTS