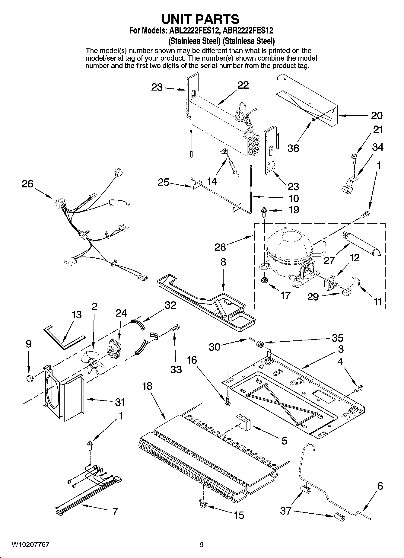
ABL2222FES12 06 – UNIT PARTS