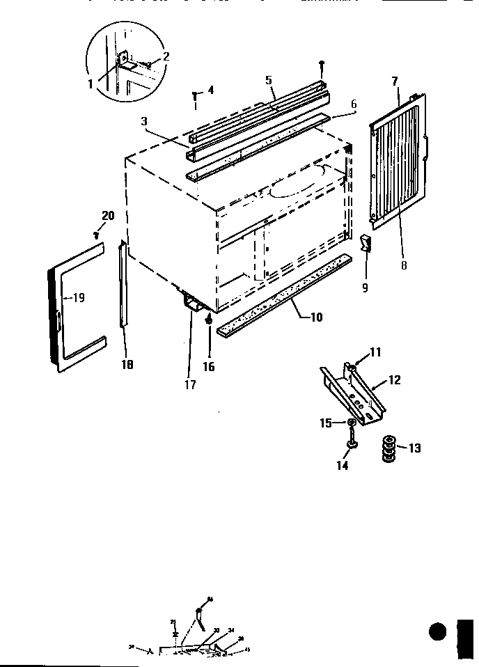
AC065J7A1 07 – WINDOW MOUNTINGadmin2025-04-26T08:42:15+00:00AC065J7A1 07 – WINDOW MOUNTING ProductsPositionProduct1WCI A1159013WCI A2537014WCI C5067615WCI C3446286WCI 187C140H467WCI A4526028WCI A3377019WCI A13510110GASKET-WINDOW SASH SEAL12WCI A33350113WCI H10260514SCREW, LEVELING15NUT16WCI C50565217WCI 187C260H0218WCI A33790119WCI A45260120SCREW-ADJ