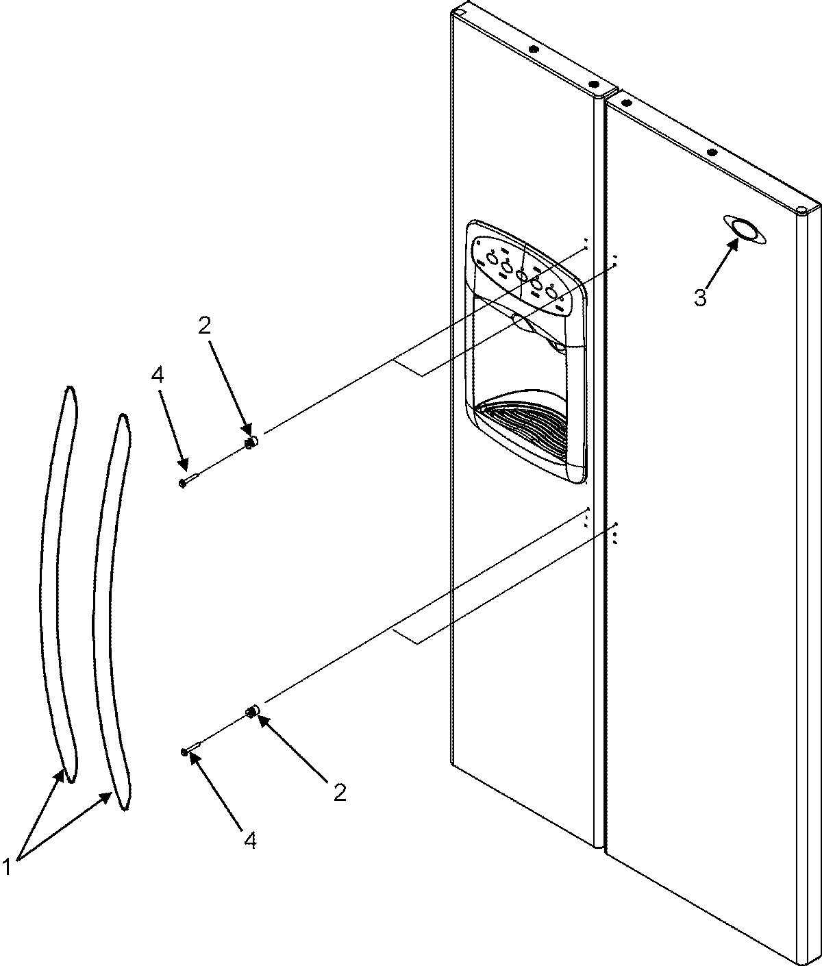
ACD2234KRS 11 – HANDLESadmin2025-04-26T09:10:29+00:00ACD2234KRS 11 – HANDLES ProductsPositionProduct1HANDLE, DOOR (STNLS)2WP67006113 Whirlpool Stud Bolt3Y12528501 Whirlpool Refrigerator Nameplate4WP3387230 Whirlpool Screw