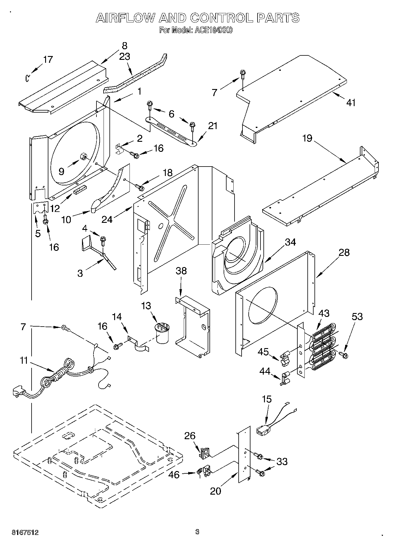
ACE184XK0 02 – AIR FLOW AND CONTROLadmin2025-04-26T10:50:11+00:00ACE184XK0 02 – AIR FLOW AND CONTROL
Products
| Position | Product |
|---|
| 1 | Shroud, Condenser |
| 2 | Clip, Wet Loop |
| 3 | Door, Exhaust |
| 4 | Screw, 8-18 x .437 |
| 5 | Clip, Nylon |
| 6 | WP308685 Whirlpool Microwave Screw |
| 8 | Top, Condenser |
| 9 | WP488130 Whirlpool Air Conditioner Nut |
| 10 | Cup, Condensate |
| 11 | Cord, Appliance |
| 12 | Seal, Condensate Cup |
| 13 | Capacitor |
| 14 | Bracket, Capacitor |
| 15 | Harness, Heater |
| 15 | Wire Harness, Heater |
| 17 | Clip, Shroud (2) |
| 18 | Screw, 8 x 3/8 |
| 19 | Top, Evaporator Shroud |
| 20 | Panel, Control |
| 21 | Support, Unit (2) |
| 23 | Seal, Shroud |
| 24 | Dividing Wall |
| 26 | Switch Rotary |
| 28 | Shroud Assembly, Evaporator |
| 33 | Screw, 6-32 x .175 |
| 34 | Housing, Air |
| 38 | Control Box (R.S.) |
| 41 | Cover, Top |
| 43 | Element, Heating |
| 44 | Fuse, Link |
| 45 | Switch, Limit |
| 46 | Control, Temperature |
| 53 | WP489069 Whirlpool Compactor Screw |