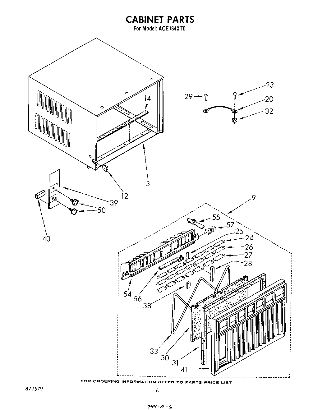
| 3 | Cabinet Also order Insulation NO.1157053 (3) |
| 9 | Front, Cabinet (Complete) |
| 12 | Grommet, Appliance Cable |
| 14 | Seal, Bottom |
| 20 | Ground Wire (Base To Cabinet) |
| 23 | Screw, 8 x 3/8 |
| 24 | Louver, Horizontal (4) |
| 25 | Retainer (4) |
| 26 | Louver, Horizontal (Handle) |
| 27 | Louver, Horizontal (Relieved) |
| 28 | Rack, Louver (2) |
| 29 | Screw, 8 x 3/8 |
| 30 | Filter, Air |
| 31 | Seal, Front (Bottom) |
| 31 | Seal, Front (Top & Sides) |
| 32 | WP486255 Whirlpool Air Conditioner Nut |
| 33 | Retainer, Filter |
| 38 | Clip, Retainer (4) |
| 39 | Plate, Escutcheon |
| 40 | Spacer, Escutcheon Plate (2) |
| 41 | Frame, Front |
| 50 | Knob, Control |
| 54 | Louver, Vertical |
| 55 | Handle, Vertical Louver (2) |
| 56 | Link, Vertical Louver (2) |
| 57 | Detent Spring (2) |