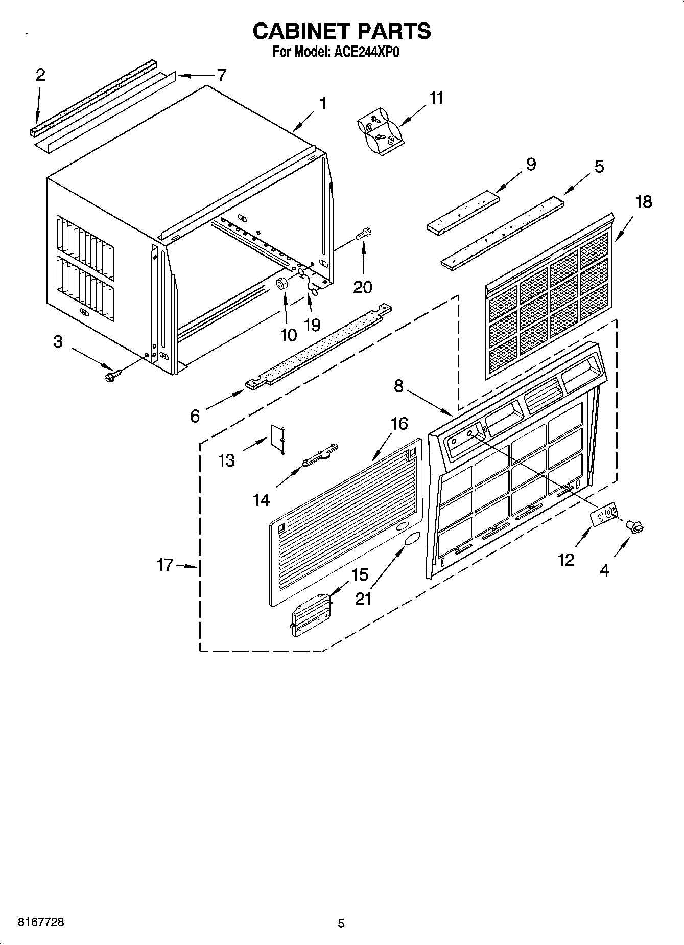
ACE244XP0 03 – CABINET PARTSadmin2025-04-26T10:52:33+00:00ACE244XP0 03 – CABINET PARTS ProductsPositionProduct1Cabinet2Gasket, Meeting Rail3WP489069 Whirlpool Compactor Screw4WP8031121 Whirlpool Air Conditioner Control Knob5Seal, Front Large6Seal7Angle (Top)8Frame, Front9Seal10WP486255 Whirlpool Air Conditioner Nut11Bag, Accessory12ESCUTCHEON13Louver, Verticle14Link, Verticle Louver (2)15Cartridge16Door, Filter17Front, Complete18Filter19Wire, Ground20WP488234 Whirlpool Air Conditioner Screw21Nameplate