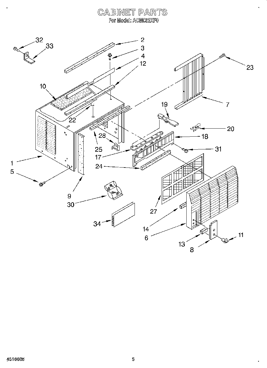
ACM052XF0 03 – CABINET