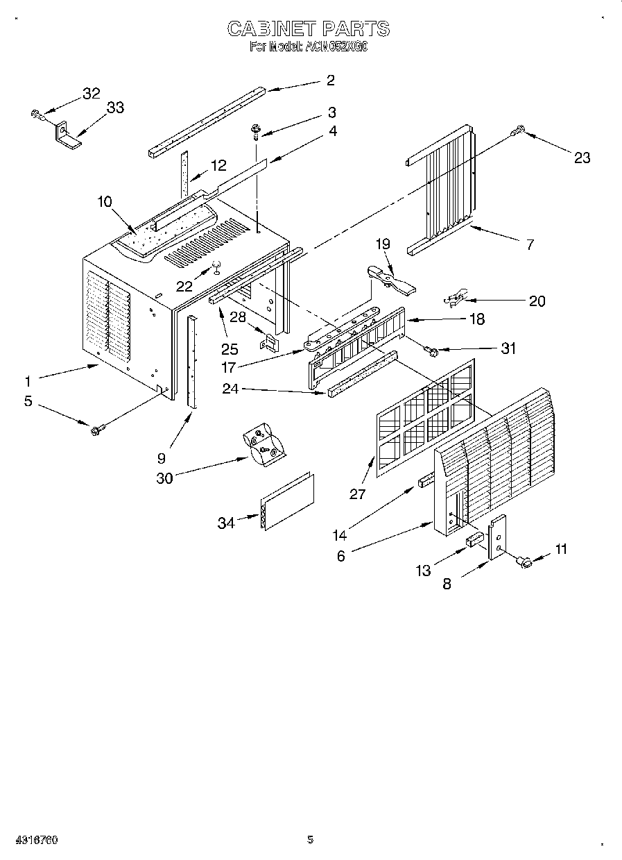
| 1 | Cabinet |
| 2 | Gasket, Meeting Rail |
| 3 | WP308685 Whirlpool Microwave Screw |
| 4 | Channel, Top |
| 5 | WP489069 Whirlpool Compactor Screw |
| 6 | Front, Cabinet Assembly |
| 7 | Curtain (L.S.) |
| 7 | Curtain (R.S.) |
| 8 | Escutcheon |
| 9 | WP854334 Whirlpool Air Conditioner Sealing Strip |
| 10 | Insulation, Top |
| 11 | Knob, Control (2) |
| 12 | Seal, Rear Grille |
| 13 | Spacer, Escutcheon Plate (3) |
| 17 | Link, Louver (2) |
| 18 | Louver, Vertical |
| 19 | Handle, Louver |
| 20 | Detent Spring (2) |
| 22 | Cover, Hole |
| 23 | Screw, 8-18 x 3/8 |
| 24 | Seal, Vertical Louver |
| 25 | Seal |
| 27 | Filter |
| 28 | Clip, Vertical Louver |
| 30 | Bag, Accessory |
| 31 | Screw 8-18 x .295 |
| 32 | Screw, Wood 8-15 x .750 |
| 33 | Bracket |
| 34 | 212643 Whirlpool Refrigerator Permagum Sealer |