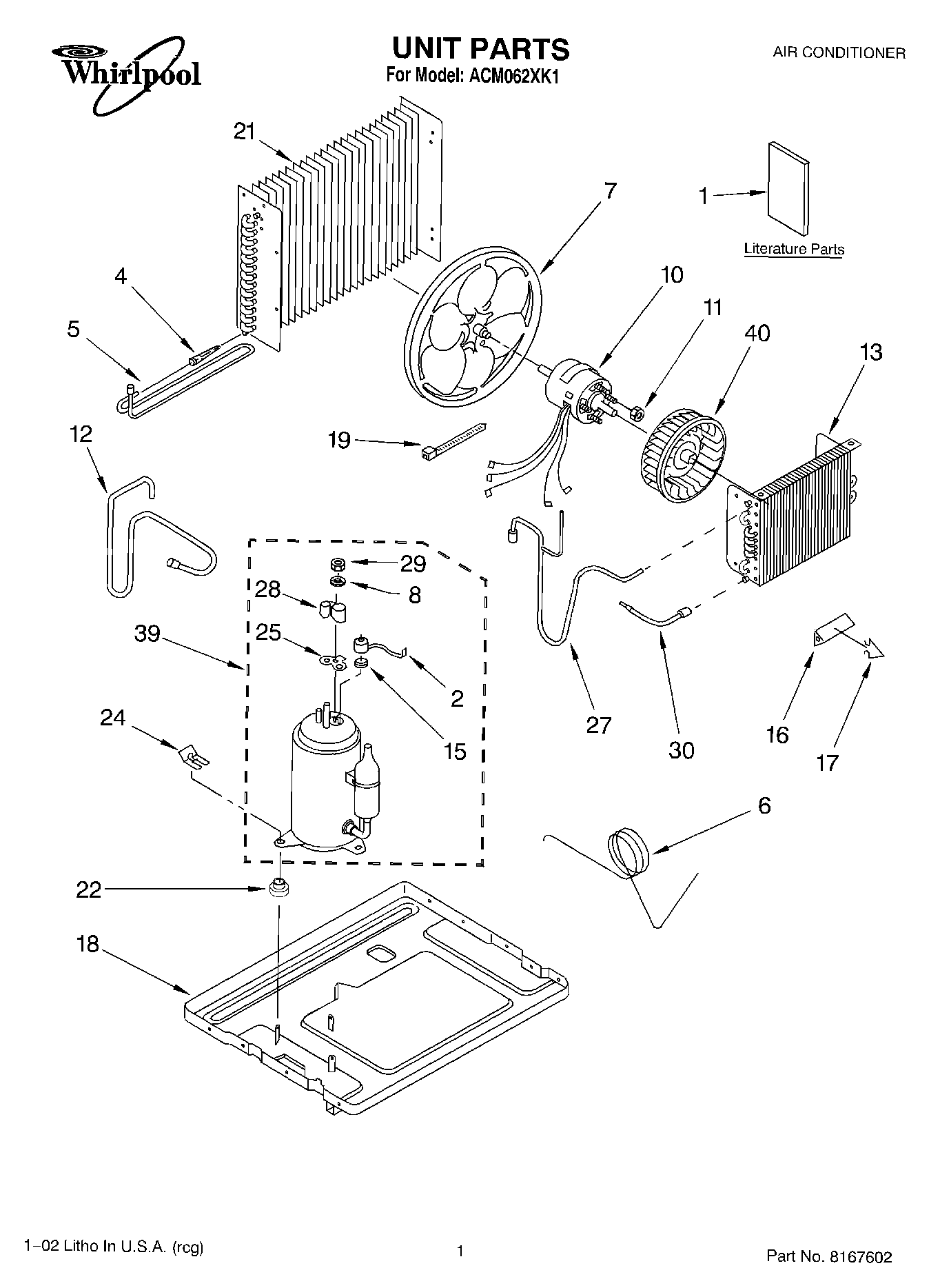
ACM062XK1 01 – UNIT, LITERATURE