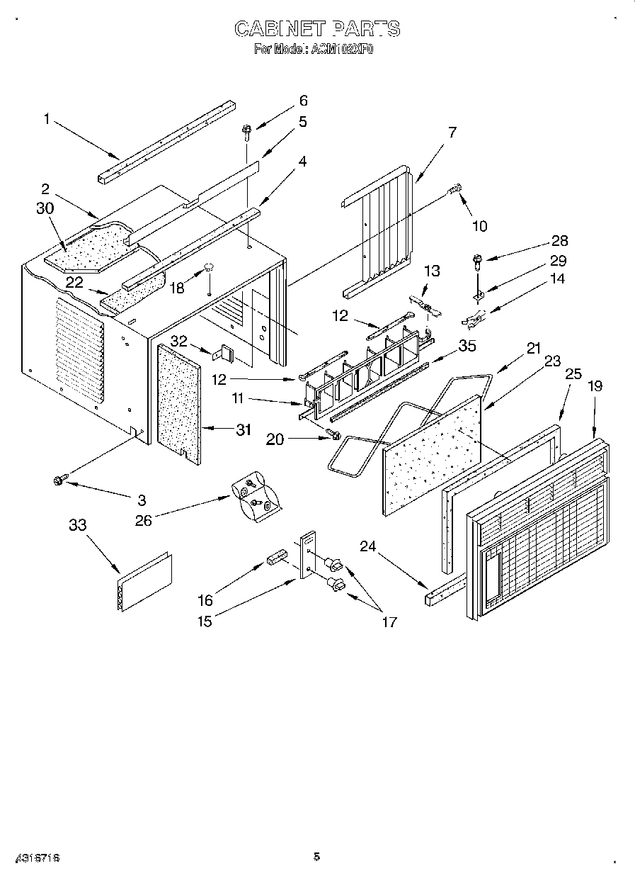
| 1 | Gasket, Meeting Rail |
| 2 | Cabinet |
| 3 | WP489069 Whirlpool Compactor Screw |
| 4 | Strip, Seal |
| 5 | Channel, Top |
| 6 | WP308685 Whirlpool Microwave Screw |
| 7 | Housing, Curtain L.S. (Includes No.8) |
| 7 | Housing, Curtain R.S.(Includes No.8) |
| 10 | Screw, 8-18 x 3/8 |
| 11 | Louver, Vertical |
| 12 | Link, Vertical Louver (2) |
| 13 | Handle, Vertical Louver (2) |
| 14 | Spring, Detent (2) |
| 15 | Plate, Escutcheon |
| 16 | Spacer, Escutcheon Plate (3) |
| 17 | Knob, Control (2) |
| 18 | Cover, Hole |
| 19 | Front, Cabinet |
| 20 | Screw 8-18 x .295 |
| 21 | Retainer, Filter |
| 22 | Insul. Cabinet Top |
| 23 | Filter, Air |
| 24 | Seal, Cabinet Front |
| 25 | Seal, Strip (Top & Sides) |
| 26 | Bag, Accessory |
| 28 | Screw, Wood 8-15 x .750 |
| 29 | Bracket |
| 30 | Insul. Cabinet |
| 31 | Insul. Cabinet (Right, Side) |
| 31 | Insul. Cabinet (Left Side) |
| 32 | Clip, Vertical Louver |
| 33 | 212643 Whirlpool Refrigerator Permagum Sealer |
| 35 | Seal, Vertical Louver |