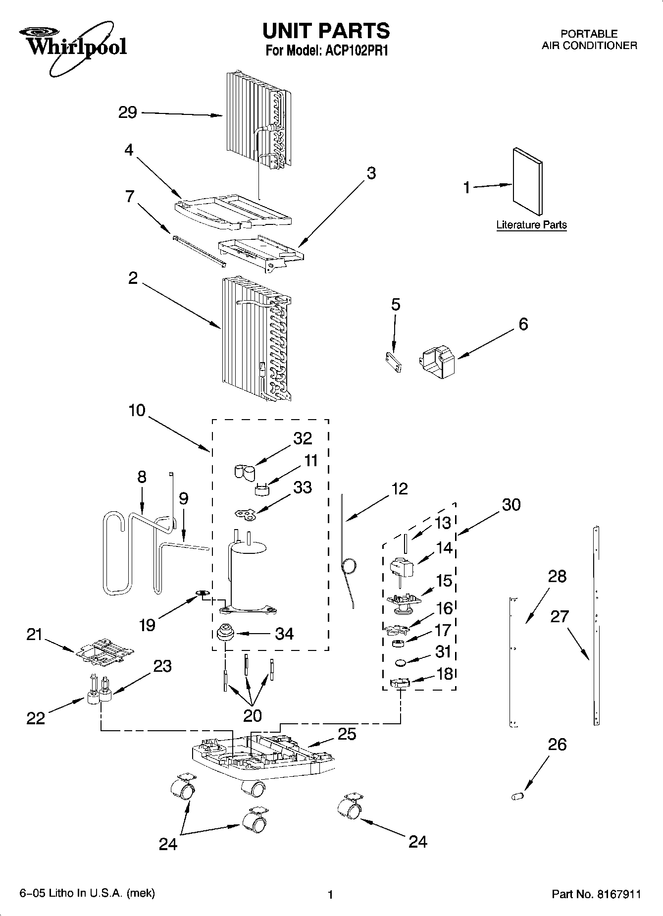
ACP102PR1 01 – UNIT PARTSadmin2025-04-26T10:55:13+00:00ACP102PR1 01 – UNIT PARTS
Products
| Position | Product |
|---|
| 1 | Guide, Energy |
| 1 | Guide, Use & Care |
| 1 | Diagram, Wiring |
| 2 | Condenser |
| 3 | Sprinkler, Water |
| 4 | Base, Middle- Section |
| 5 | Terminal |
| 6 | Cover, Terminal |
| 7 | Support, Horizontal |
| 8 | Tube, Suction |
| 9 | Tube, Discharge |
| 10 | Compressor |
| 11 | Protector, Overload |
| 12 | Tube, Restrictor |
| 13 | Tubing, Pump |
| 14 | Motor, Pump |
| 15 | Base, Pump Motor |
| 16 | Impeller |
| 17 | Nut |
| 18 | Cover, Impeller |
| 19 | Nut |
| 20 | Bolt, Compressor |
| 21 | Base, Water Level Switch |
| 22 | Switch, Pumping |
| 23 | Switch, Warning |
| 24 | Roller |
| 25 | BASE |
| 26 | Plug, Water |
| 27 | Support, Back |
| 28 | Support, Front |
| 29 | Evaporator |
| 30 | Pump Assembly |
| 31 | O-Ring, Gasket |
| 32 | Cover, Terminal |
| 33 | Gasket |
| 34 | GROMMET |
| 34 | REFRIGERANT CHARGE 21.6 oz. |