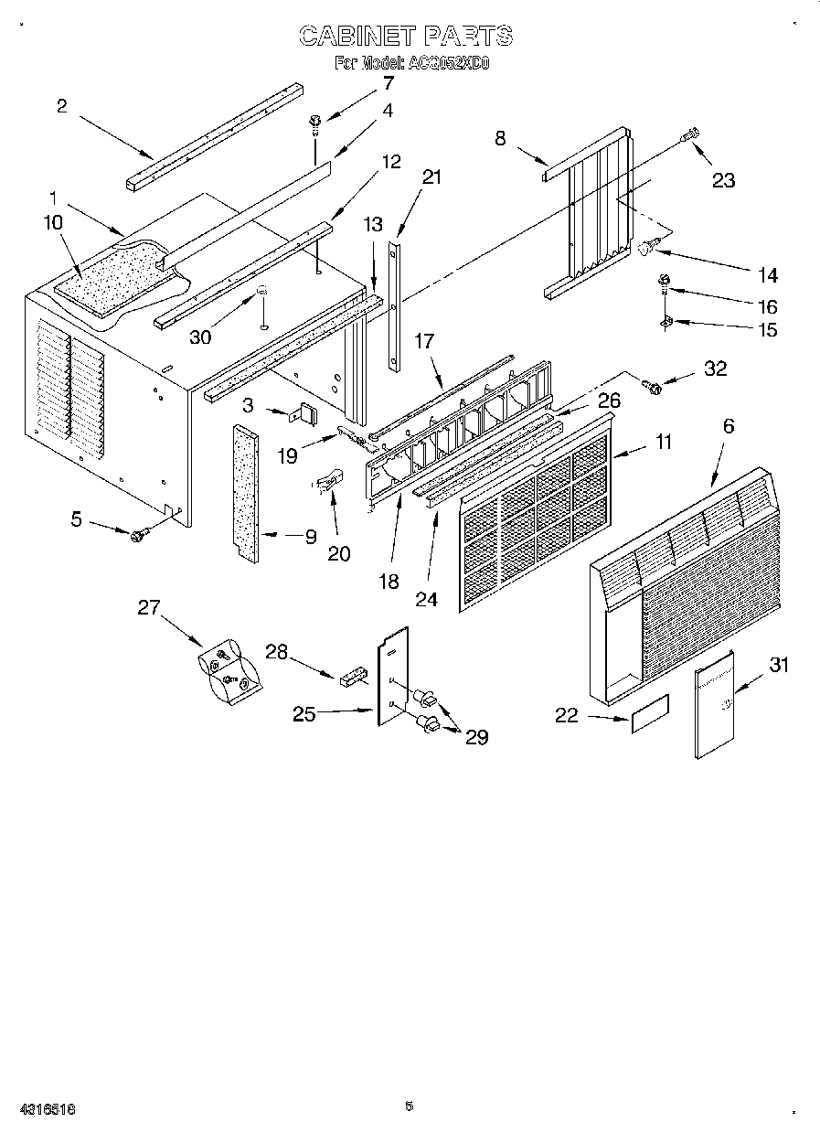
ACQ052XD0 03 – CABINET