ACQ142XD0 05 – INSTALLATIONadmin2025-04-26T10:46:31+00:00ACQ142XD0 05 – INSTALLATION
Products
| Position | Product |
|---|
| Instructions, Installation (Standard and Wide Window Kits) |
| Instructions, Installation (Outside Support Kit |
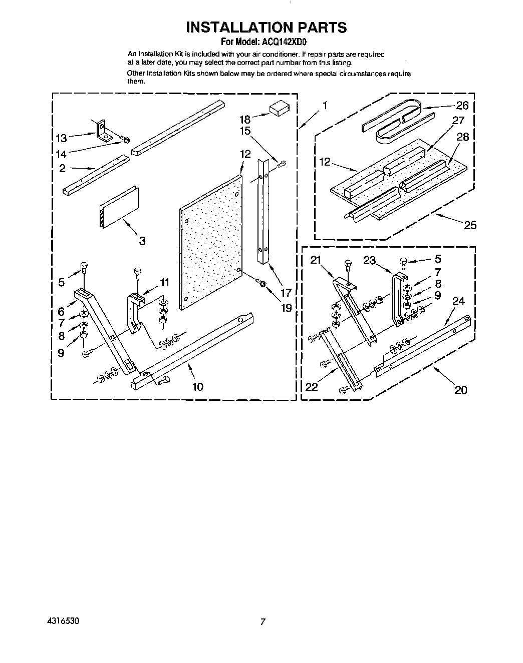
| 1 | Kit, Standard Installation |
| 2 | Gasket, Meeting Rail |
| 3 | 212643 Whirlpool Refrigerator Permagum Sealer |
| 5 | Bolt, 1/4 x 3/4 (6) |
| 6 | Support, Cabinet (2) |
| 7 | WP120393 Whirlpool Washer Assembly |
| 8 | Lockwasher (6) |
| 9 | Nut, Hex (6) |
| 10 | Bracket, Support |
| 11 | Support, Retainer (2) |
| 12 | Board, Filler |
| 13 | Bracket |
| 14 | Screw (Window Lock Bracket) |
| 15 | WP308685 Whirlpool Microwave Screw |
| 17 | Angle (2) |
| 18 | Spacer, Block (4) |
| 19 | WP965173 Whirlpool Dishwasher Screw |
| 20 | Kit, Outside Support |
| 21 | Support, Cabinet (2) |
| 22 | Extension, Support (2) |
| 23 | Retainer, Cabinet (2) |
| 24 | Bracket, Support |
| 25 | Kit, Wide Window |
| 26 | Strip, Seal |
| 27 | Seal, Meeting Rail |
| 28 | Gasket, Sash (54``) |