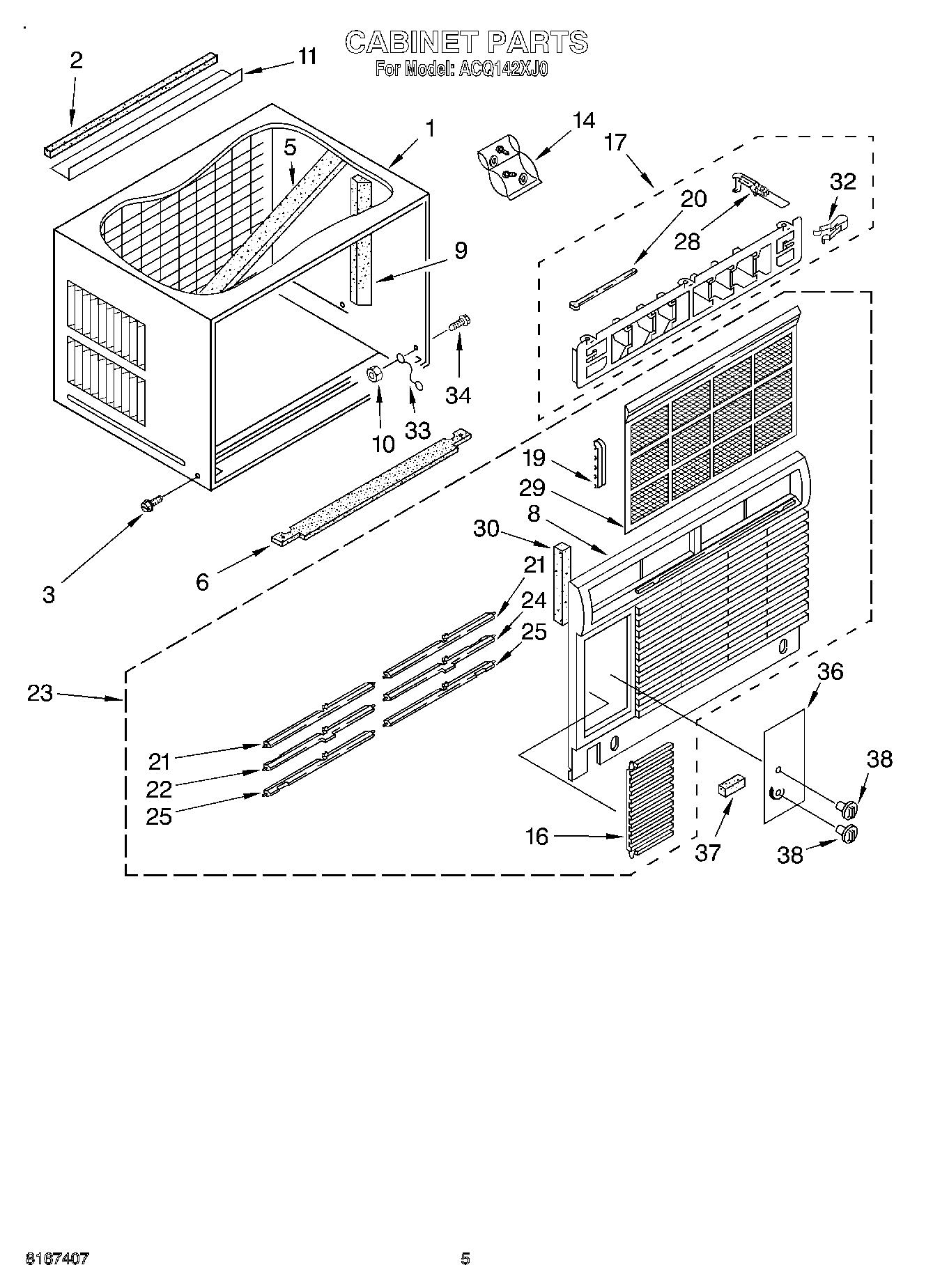
| 1 | Cabinet (Includes Insulation) |
| 2 | Gasket, Meeting Rail |
| 3 | WP489069 Whirlpool Compactor Screw |
| 5 | Insulation, Top (Cabinet) |
| 6 | Seal |
| 8 | Front, Cabinet |
| 9 | Insulation, Cabinet Side (2) |
| 10 | WP486255 Whirlpool Air Conditioner Nut |
| 11 | Angle (Top) |
| 14 | Bag, Accessory |
| 16 | Door, Control |
| 17 | Vertical, Louver |
| 19 | Link, Horizontal Louver (5) |
| 20 | Link, Verticle Louver (2) |
| 21 | Louver, Horizontal (8) |
| 22 | Louver, Horizontal W/ Handle, Left |
| 23 | Front, Complete |
| 24 | Louver, Horizontal W/ Handle, Right |
| 25 | Louver, Horizontal (Notch Left) |
| 25 | Louver, Horizontal (Notch Right) |
| 28 | Actuator, Louver |
| 29 | Filter |
| 30 | Seal, Front (3) |
| 32 | Spring, Detent |
| 33 | Wire, Ground |
| 34 | WP488234 Whirlpool Air Conditioner Screw |
| 36 | Plate, Escutcheon |
| 37 | Spacer, Escutcheon Plate (3) |
| 38 | WP8031121 Whirlpool Air Conditioner Control Knob |