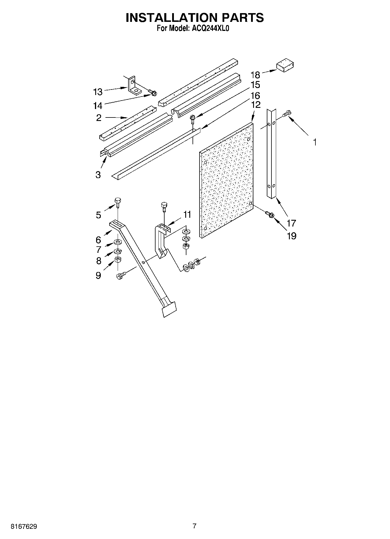
ACQ244XL0 05 – INSTALLATIONadmin2025-04-26T10:46:23+00:00ACQ244XL0 05 – INSTALLATION ProductsPositionProduct1Screw 8-18 x .2952Gasket, Meeting Rail3Gasket, Sash5Bolt, 1/4 x 3/4 (6)6Support, Cabinet (2)7WP120393 Whirlpool Washer Assembly8Lockwasher (6)9Nut, Hex (6)11Support, Retainer (2)12Board, Filler13Bracket14Screw (Window Lock Bracket)15WP489069 Whirlpool Compactor Screw16Angle (Top)17Angle (2)18Spacer, Block (4)19Screw (Side Angle To Filler Board)