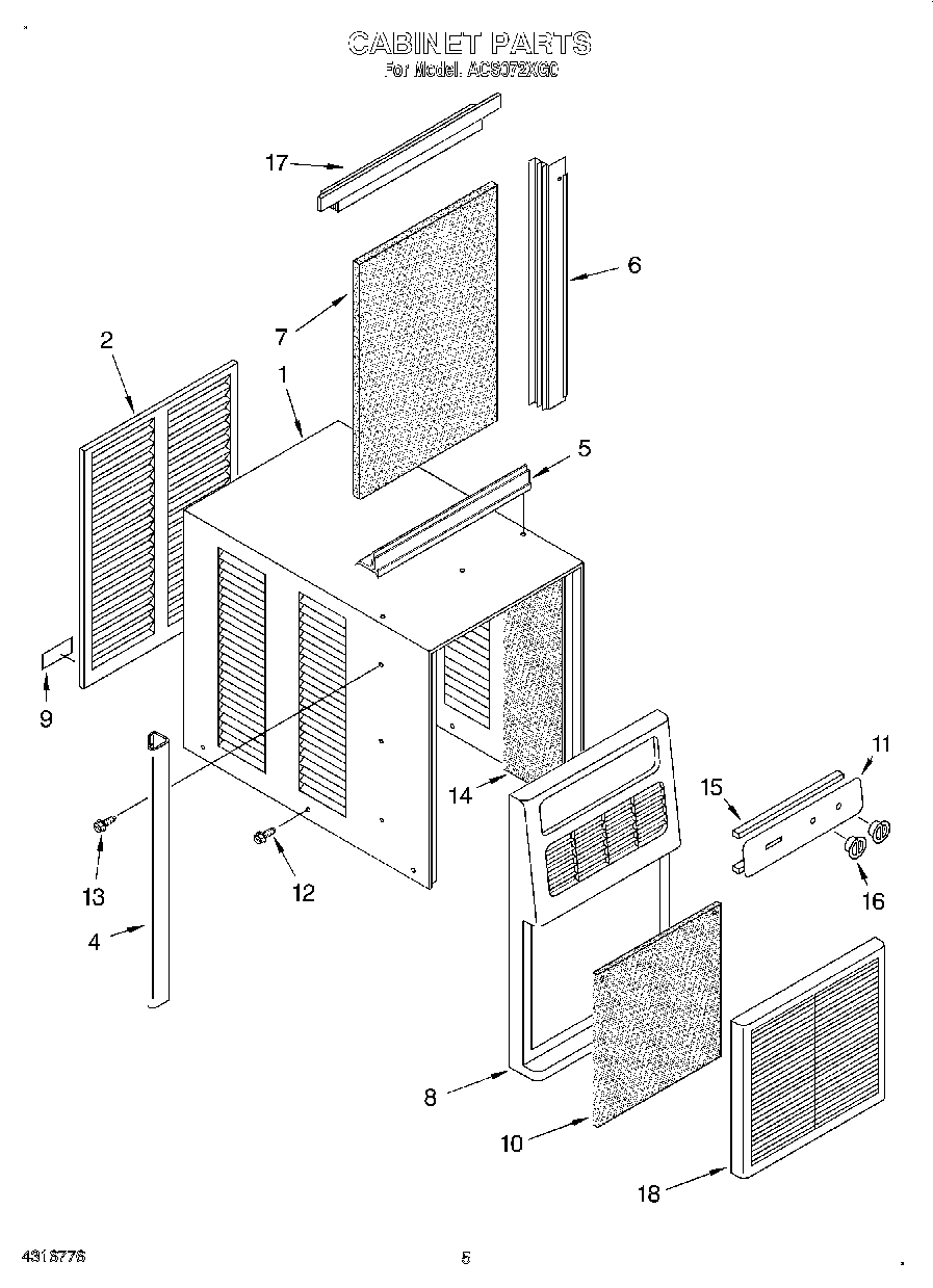
| 1 | Cabinet Assembly (Includes Insulation and Nos. 2 and 5) |
| 2 | Panel, Rear |
| 4 | Retainer, Side (Cabinet) (2) |
| 5 | Retainer, Top (Cabinet) |
| 6 | Retainer, Panel (Side) (2) |
| 7 | Panel, Filler |
| 8 | Front Assembly (Includes Item 18) |
| 9 | Nameplate |
| 10 | Filter, Air |
| 11 | Escutcheon (Also Order Item 15) |
| 12 | Screw |
| 13 | 4389654 Whirlpool Screw |
| 14 | Insulation, Cab. (Side) (2 Required) |
| 14 | Insulation, Cab. (Top) |
| 15 | Spacer, Escutcheon |
| 16 | Knob |
| 17 | Retainer, Filler Panel (Top) (Not Serviced Separately) |
| 18 | Insert, Front |