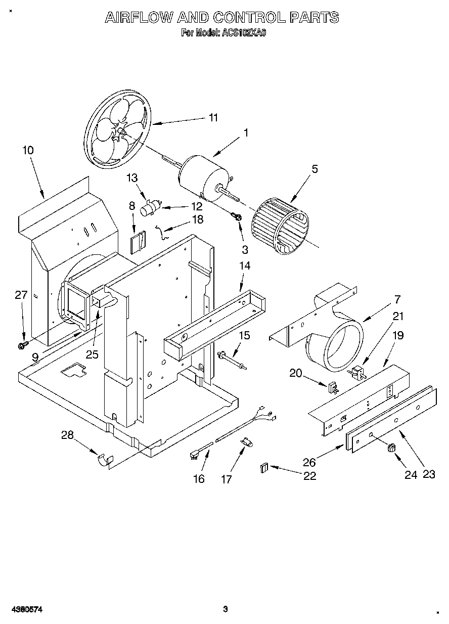
| 1 | Motor, Fan |
| 3 | WP3387230 Whirlpool Screw |
| 5 | Blower Wheel |
| 7 | Housing, Blower |
| 8 | Door-Exhaust |
| 9 | Bracket-Comptr Mtg |
| 10 | Shroud-Condenser |
| 11 | Fan-Slinger Ring |
| 12 | Capacitor |
| 13 | Strap, Capacitor |
| 14 | Box, Control |
| 15 | Control-Exhaust Dr |
| 16 | Cord-Service |
| 17 | Clamp-Cable |
| 18 | Wire-Exhaust Dr. |
| 19 | Panel, Control |
| 20 | Switch-Rotary |
| 21 | Control-Temperature |
| 22 | Clip-Bulb Spacer |
| 23 | Escutcheon |
| 24 | Knob, Control |
| 25 | Baffle |
| 26 | Spacer-Escutcheon |
| 27 | SCREW |
| 28 | Clip-Front Mounting |