ACS102XE0 01 – UNIT, LITERATUREadmin2025-04-26T10:48:31+00:00ACS102XE0 01 – UNIT, LITERATURE
Products
| Position | Product |
|---|
| Tech Sheet |
| Use and Care Guide |
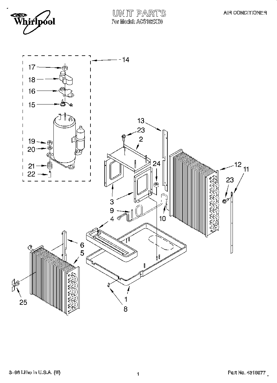
| 1 | Base |
| 2 | Bracket, Comp. Mounting |
| 3 | Support, Bracket (2) |
| 4 | Pan, Drain (Evaporator) |
| 5 | Evaporator |
| 6 | Bracket, Baffle (Evaporator) |
| 8 | Clip, Front Retainer |
| 9 | Tube, Restrictor .042 I.D. x 20`` (2) |
| 10 | Strainer |
| 11 | Baffle, Condenser |
| 12 | Condenser |
| 13 | Bracket, Condenser Shroud |
| 14 | Compressor |
| 15 | Overload |
| 16 | Gasket, Terminal Cover |
| 17 | Nut, Terminal Cover |
| 18 | Cover, Terminal |
| 19 | Nut |
| 20 | Washer |
| 21 | Grommet |
| 22 | Sleeve |
| 23 | 4389654 Whirlpool Screw |
| 24 | Nut, 1/4-20 Lock |
| 25 | Clip, Thermostat Bulb |