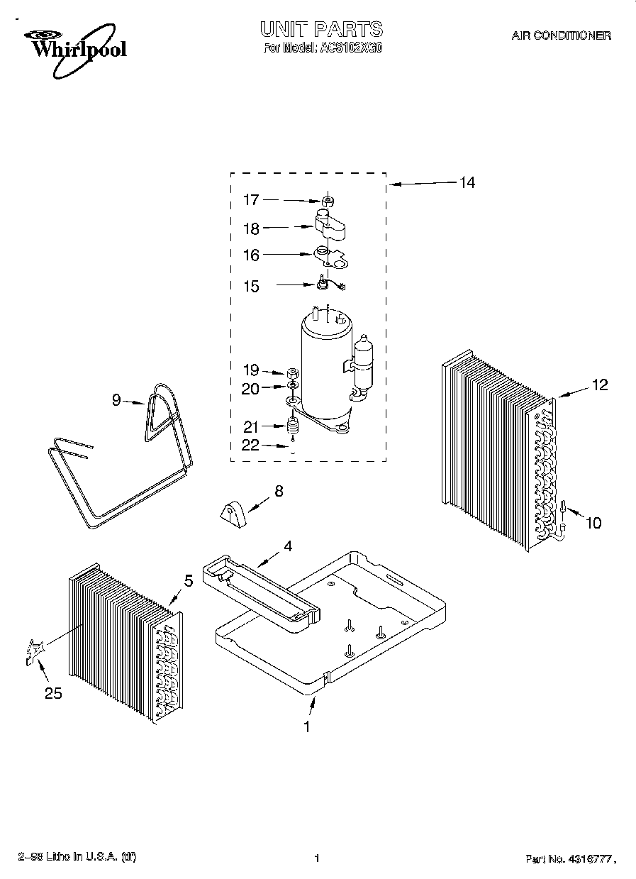
ACS102XG0 01 – UNIT, LITERATUREadmin2025-04-26T10:49:50+00:00ACS102XG0 01 – UNIT, LITERATURE ProductsPositionProductLITERATURE PARTS (Tech Sheet)Use and Care Guide1Base4Pan, Drain (Evaporator)5Evaporator8Grommet, Tube9Tube, Restrictor .042 I.D. x 20``10Strainer12Condenser14Compressor15Overload16Gasket, Terminal Cover17Nut, Terminal Cover18Cover, Terminal19Nut20W11236646 Whirlpool Washer Assembly21Grommet22Sleeve25Clip, Thermostat Bulb