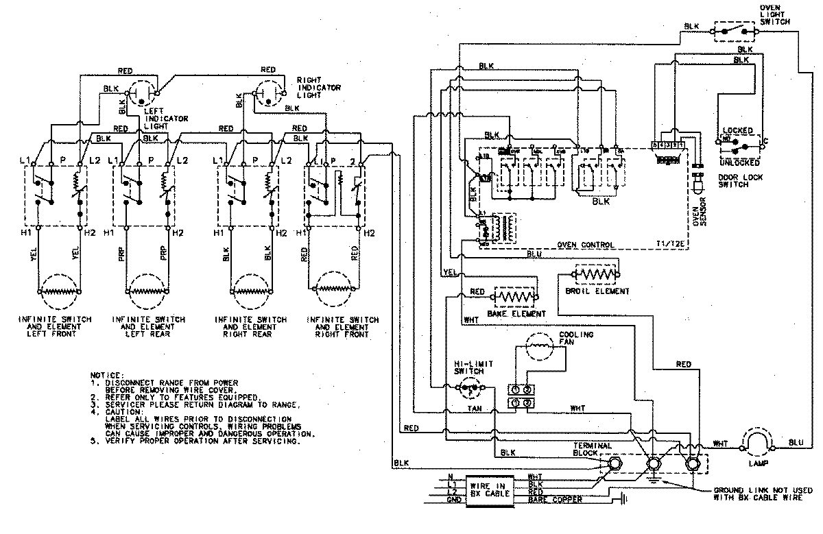
ACS4140BB 06 – WIRING INFORMATIONadmin2025-04-26T09:12:56+00:00ACS4140BB 06 – WIRING INFORMATION ProductsPositionProductNIMAY 15002527