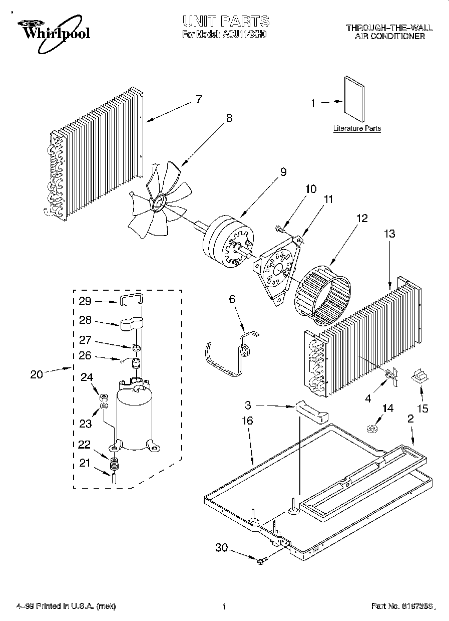
| 1 | Use & Care Guide |
| 2 | Pan, Drain (Evaporator) |
| 3 | Cover, Drain Pan |
| 4 | Clip, Thermostat Bulb |
| 6 | Tube, Restrictor .049 I.D. x 41`` (2) |
| 7 | Condenser |
| 8 | Blade, Fan (Condenser) |
| 9 | Motor, Fan |
| 10 | WP8204624 Whirlpool Bolt |
| 11 | Plate, Motor Mounting |
| 12 | Wheel, Blower (Includes Clamp) |
| 13 | Evaporator |
| 14 | Grommet, Tube |
| 15 | Clip (2) |
| 16 | Base |
| 20 | Compressor |
| 21 | Sleeve |
| 22 | Grommet |
| 23 | W11236646 Whirlpool Washer Assembly |
| 24 | Nut |
| 26 | Overload |
| 27 | Spring, Overload |
| 28 | Cover, Terminal |
| 29 | Retainer, Terminal Cover |
| 30 | Snubber, Two 1/4 Tubes |
| 30 | Screw |
| 30 | Strainer |