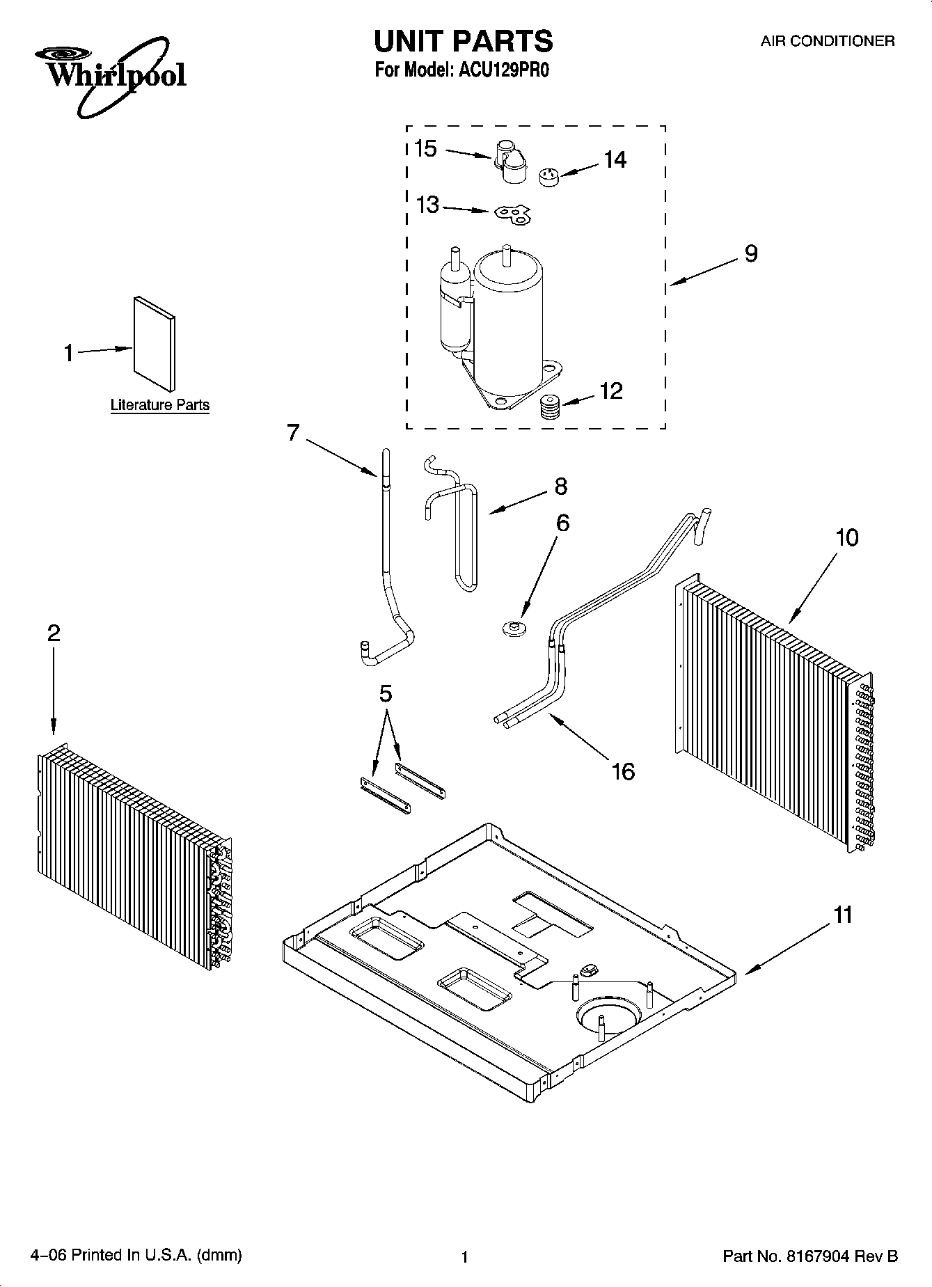
ACU129PR0 01 – UNIT PARTSadmin2025-04-26T11:41:05+00:00ACU129PR0 01 – UNIT PARTS ProductsPositionProduct1Use and Care Guide1Label, Energy1Diagram, Wiring2Evaporator5Support, Evaporator6Nut7Tube, Suction8Tube, Discharge9Compressor10Condenser11Base12GROMMET13Gasket14Protector, Overload15Cover, Terminal16Tube, Restrictor16REFRIGERANT CHARGE 26.10 oz.