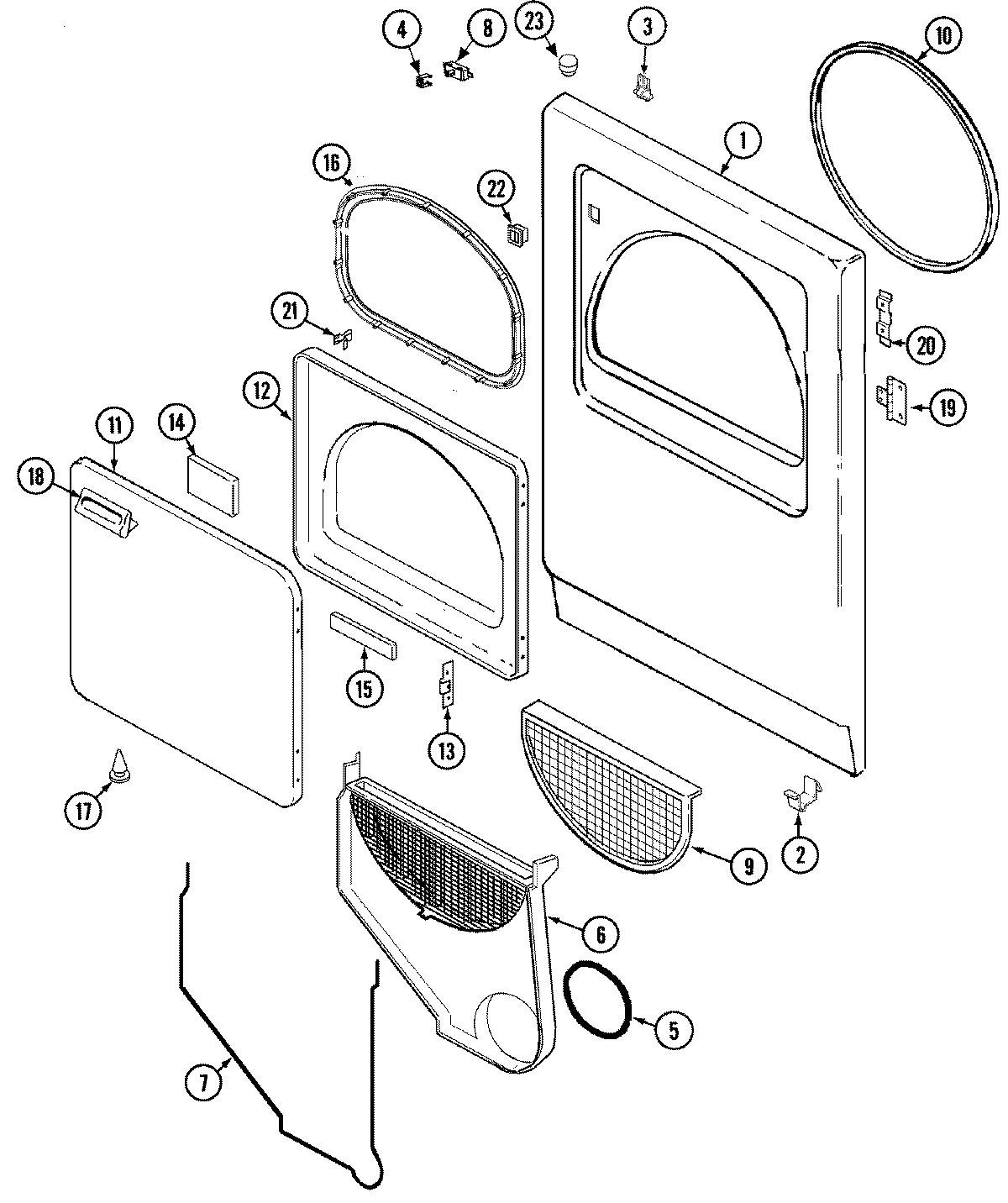
ADG7000AWW 04 – DOOR