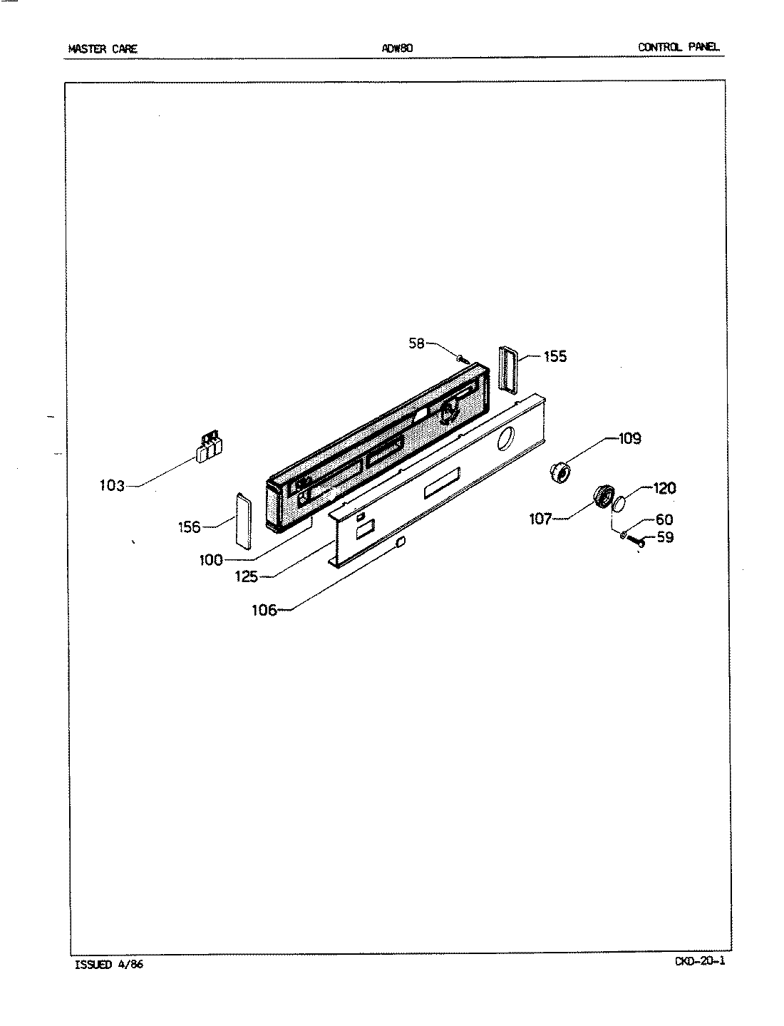
ADW80 02 – CONTROL PANEL