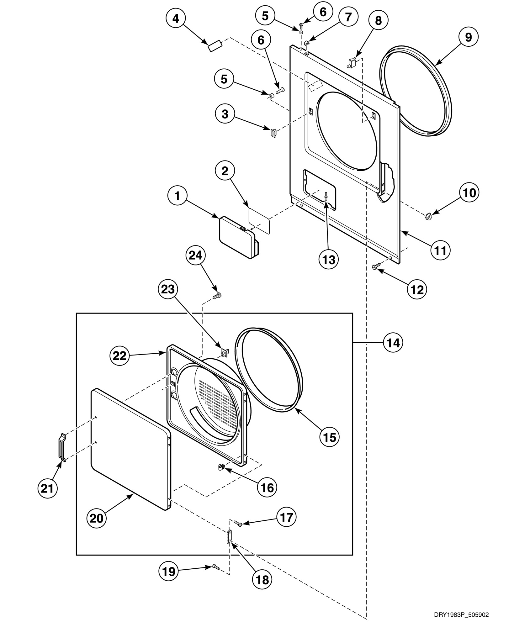
AE3413 Loading Door, Front Panel and Seals