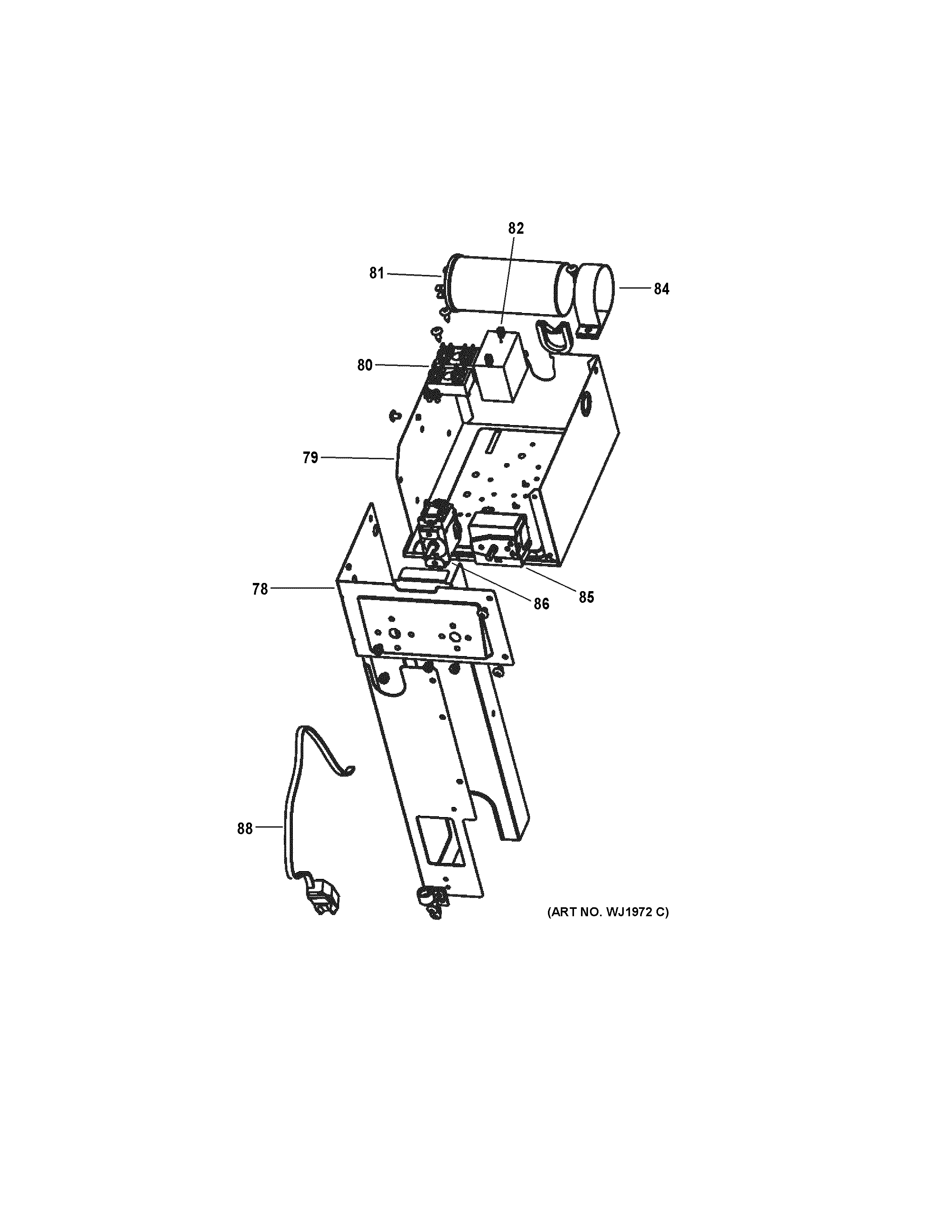
AEE23DNL1 CONTROL PARTS
Products
| Position | Product |
|---|---|
| 78 | ELECTRIC BOX SUPPORT |
| 79 | ELECTRIC BOX 1 |
| 80 | TERMINAL BOARD |
| 81 | GEN WJ20X10163 |
| 82 | FAN CAPACITOR |
| 84 | WJ02X10034 GE Capacitor Clamp |
| 85 | GEN WJ26X10278 |
| 86 | THERMOSTAT |
| 88 | POWER CORD |
AEE23DNL1 CONTROL PARTS
| Position | Product |
|---|---|
| 78 | ELECTRIC BOX SUPPORT |
| 79 | ELECTRIC BOX 1 |
| 80 | TERMINAL BOARD |
| 81 | GEN WJ20X10163 |
| 82 | FAN CAPACITOR |
| 84 | WJ02X10034 GE Capacitor Clamp |
| 85 | GEN WJ26X10278 |
| 86 | THERMOSTAT |
| 88 | POWER CORD |