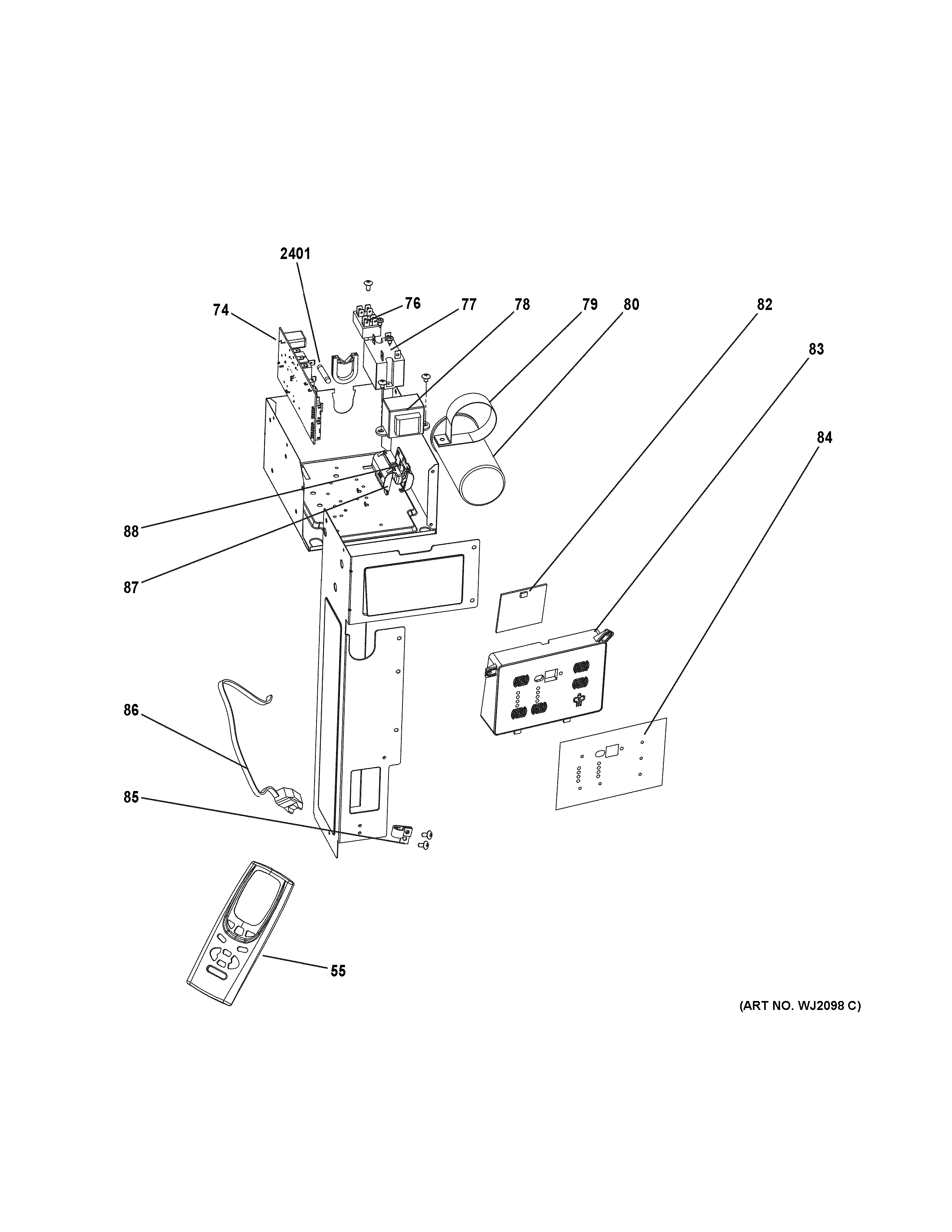
| 55 | WJ26X20522 GE Air Conditioner Remote Controller |
| 74 | WJ29X10053 GE Air Conditioner Main Board |
| 76 | TERMINAL BOARD |
| 77 | GEN WJ24X10004 |
| 78 | TRANSFORMER |
| 79 | WJ02X10034 GE Capacitor Clamp |
| 80 | CAPACITOR |
| 82 | WJ26X10377 GE Air Conditioner Display Board |
| 83 | WJ26X10346 GE Air Conditioner Electric Controller Box |
| 84 | WJ07X10267 GE Air Conditioner Membrane Overlay |
| 85 | CABLE CLAMP |
| 86 | WJ35X10168 GE Air Conditioner Power Cord |
| 87 | WJ79X10255 GE OLP Cover |
| 88 | WJ23X10162 GE Overload Protector |
| 2401 | WJ23X10174 GE Air Conditioner Main Board Fuse |