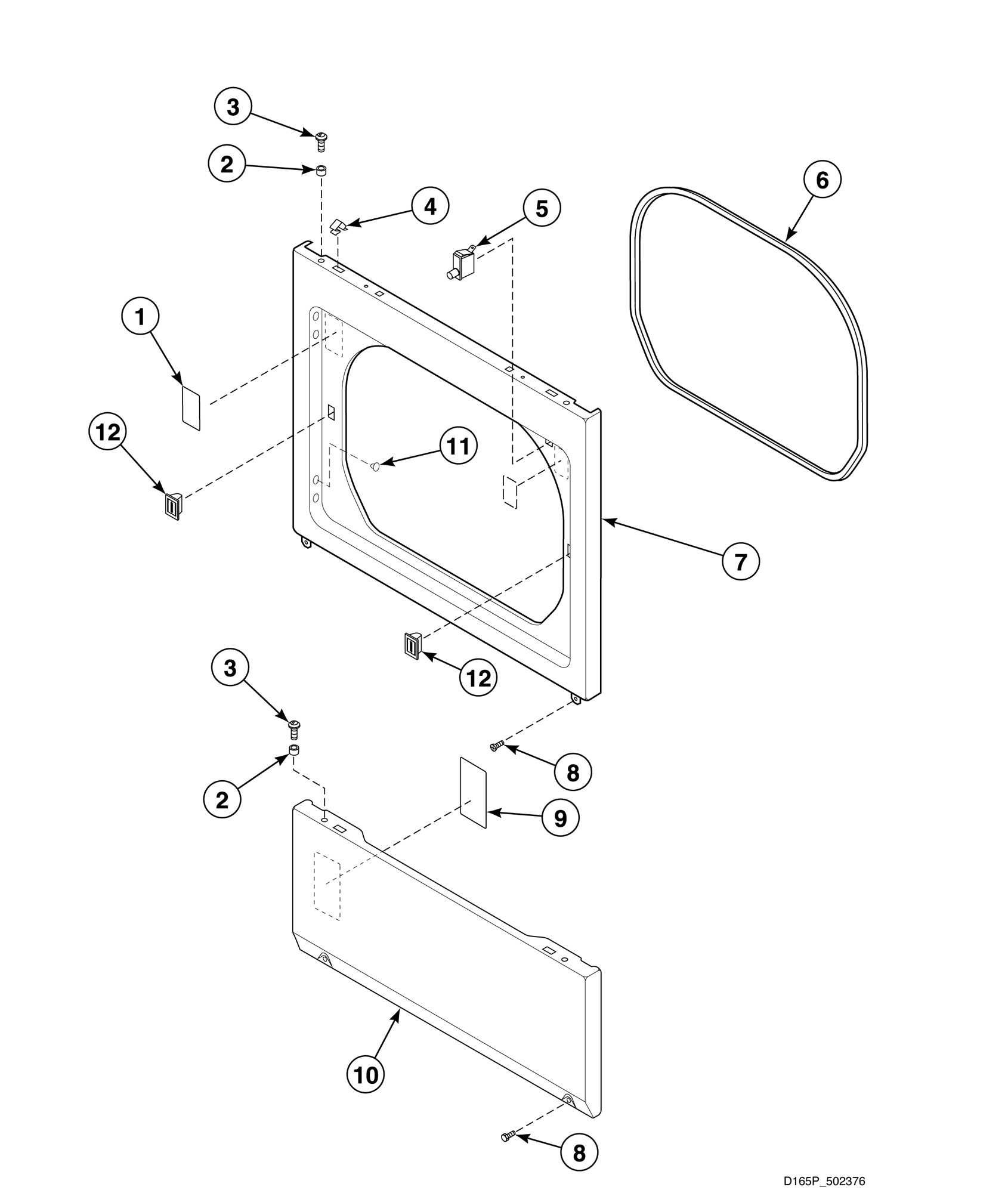
AEM397 Lower Access Panel, Front Panel and Sealadmin2025-04-26T08:56:12+00:00AEM397 Lower Access Panel, Front Panel and Seal ProductsPositionProduct1Warning/Caution Label2Panel Locator3Screw4Speed Clip5Switch6Front Panel Seal7Wire Harness Assembly7Front Panel (Comment: White)8Screw9NOT ON YOUR MODEL10Access Panel (Comment: White)10Access Panel (Comment: Almond)11Screw12Door Catch Assembly