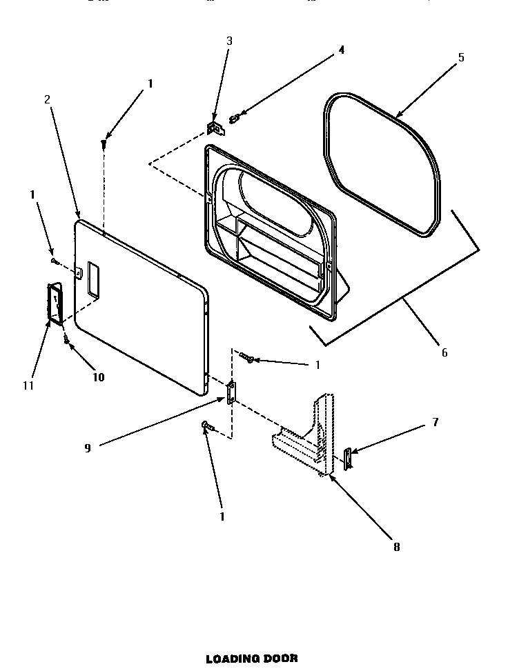
AEM427L2 08 – LOADING DOOR