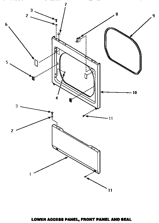
AEM427W 09 – LOWER ACCESS PANEL, FRONT PANEL & SEAL