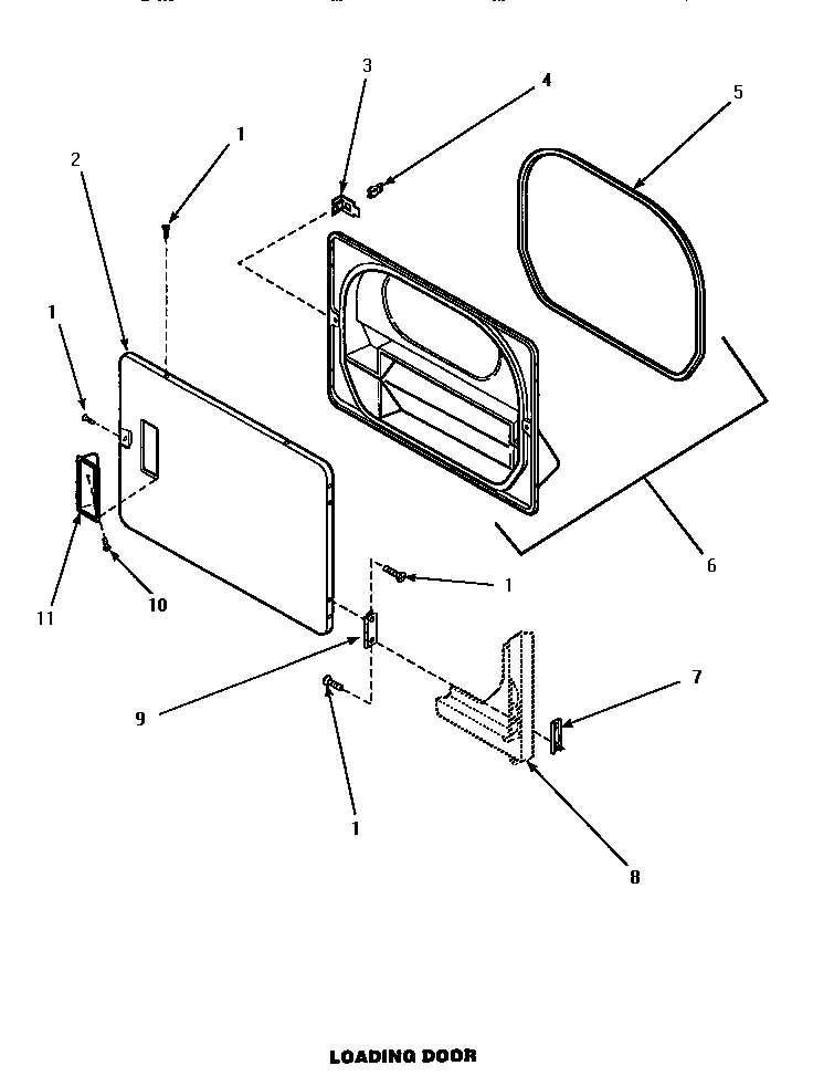
AEM427W2 08 – LOADING DOOR