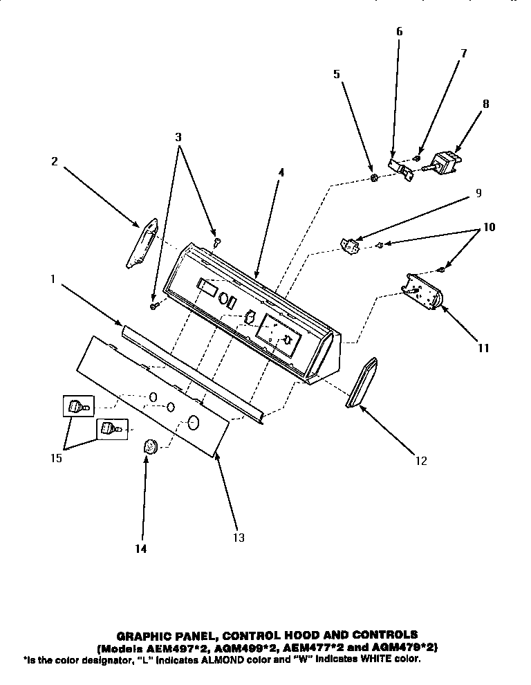
AEM477L2 05 – GRAPHIC PANEL, CONTROL HOOD & CONTROLSadmin2025-04-26T08:56:28+00:00AEM477L2 05 – GRAPHIC PANEL, CONTROL HOOD & CONTROLS ProductsPositionProductORDER GRAPHICS PANEL FROM THE SOURCE WHERE THE DRYER WAS PURCHASED. INCLUDE THECOMPLETE MODEL AND SERIAL NUMBERS WITH ORDER.1MAY 61849R2MAY 312493MAY 317523MAY 329934MAY 627454MAY 599375MAY 575846MAY 597047MAY 312608MAY Y615119MAY 50082310MAY 50108611MAY 50296312MAY 3124813MAY 50220113MAY 5022031462234 Speed Queen Assembly,Timer Knob & SKIRT WH14MAY 6217615MAY 3361015MAY 33688