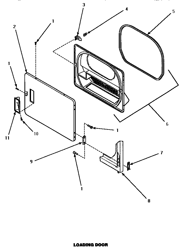
AEM497W 08 – LOADING DOORadmin2025-04-26T08:56:44+00:00AEM497W 08 – LOADING DOOR ProductsPositionProductNIMAY 500035HNIMAY 500035WNIMAY 500035L1MAY 5002262MAY 500040L2MAY 500040H2MAY 500040W3MAY 5002234MAY 5000395MAY 5002006MAY 5001997MAY 5002368SEE NOTE GROUND WIRE, GREEN9MAY 50004110MAY 50029711MAY 500042W11MAY 500042L11MAY 500042H