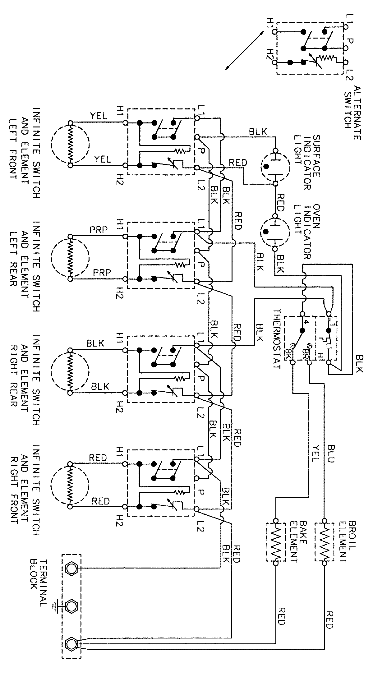
AER1110AAH 05 – WIRING INFORMATIONadmin2025-04-26T08:56:18+00:00AER1110AAH 05 – WIRING INFORMATION ProductsPositionProductNIMAY 15002207