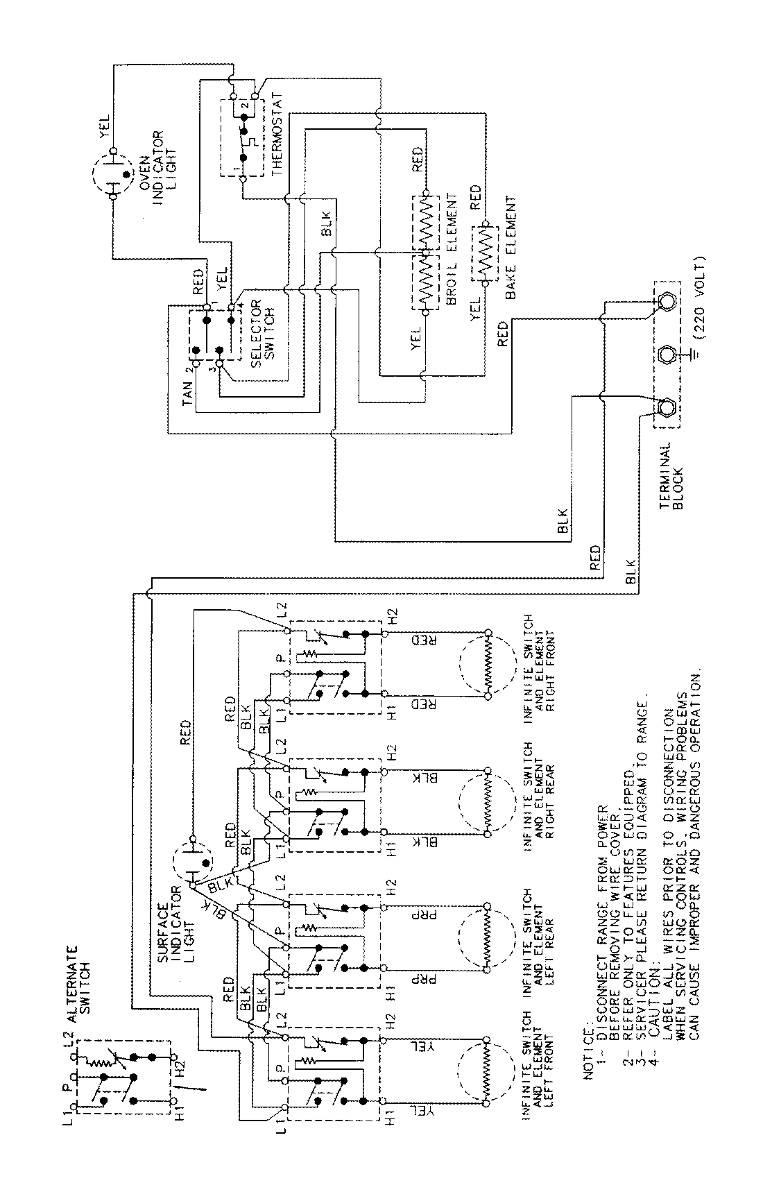
AER1140AGH 06 – WIRING INFORMATIONadmin2025-04-26T08:56:31+00:00AER1140AGH 06 – WIRING INFORMATION ProductsPositionProductNIMAY 15002415