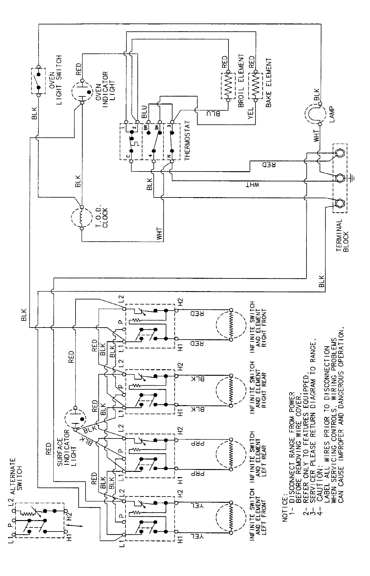
AER1350AAH 06 – WIRING INFORMATIONadmin2025-04-26T08:56:02+00:00AER1350AAH 06 – WIRING INFORMATION ProductsPositionProductNIMAY 15002214