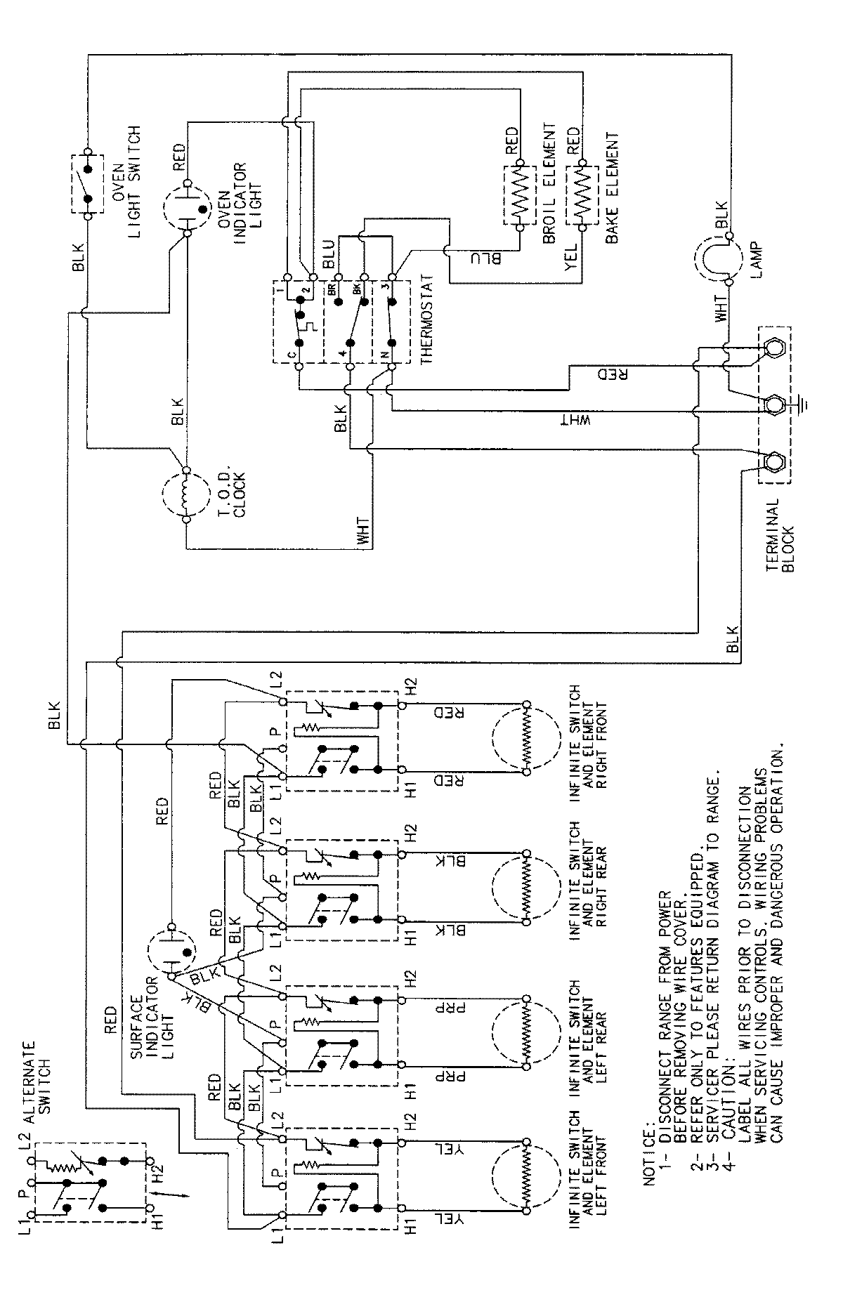
AER1350AAL 06 – WIRING INFORMATIONadmin2025-04-26T08:55:58+00:00AER1350AAL 06 – WIRING INFORMATION ProductsPositionProductNIMAY 15002214