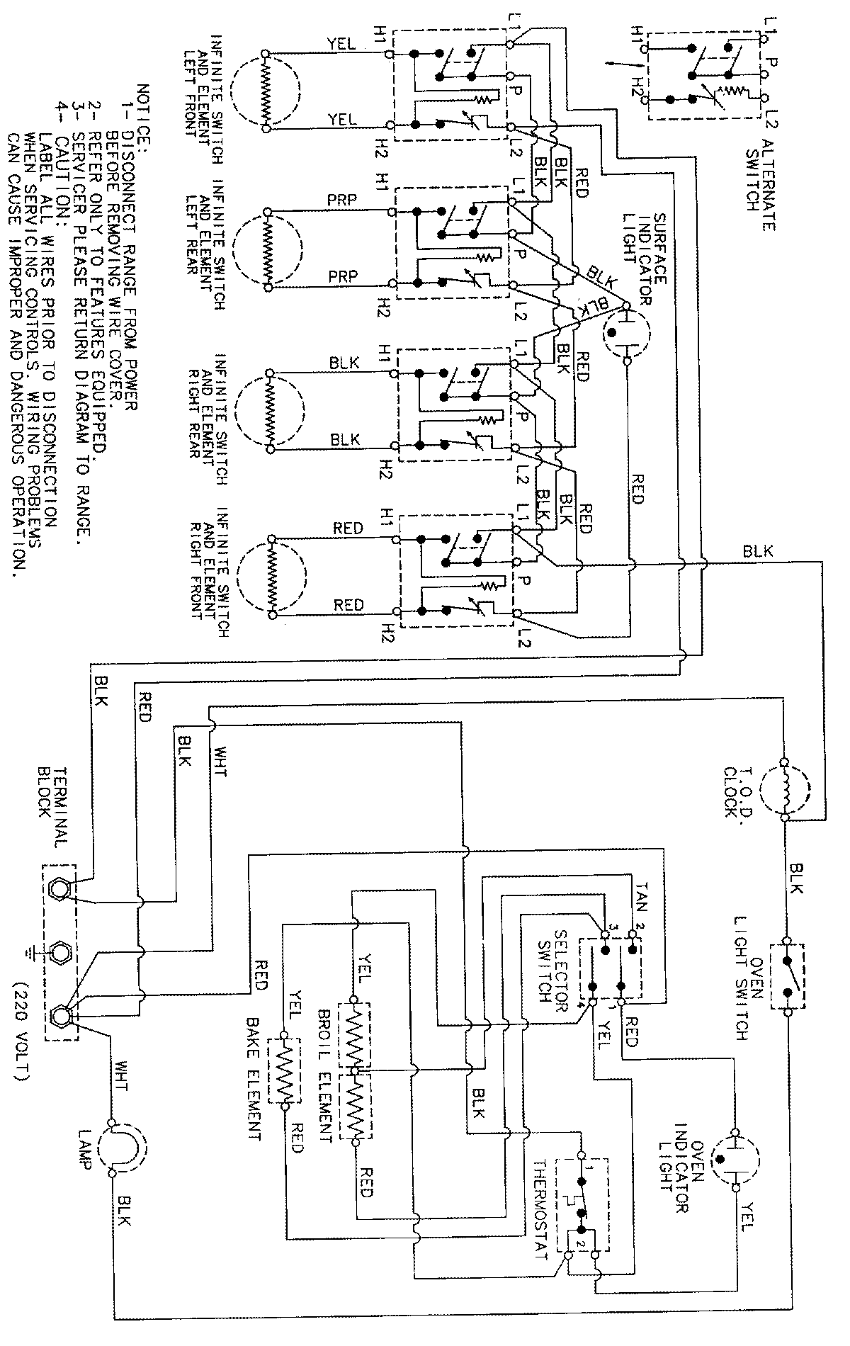
AER1360AGW 06 – WIRING INFORMATIONadmin2025-04-26T08:56:19+00:00AER1360AGW 06 – WIRING INFORMATION ProductsPositionProductNIMAY 15002340