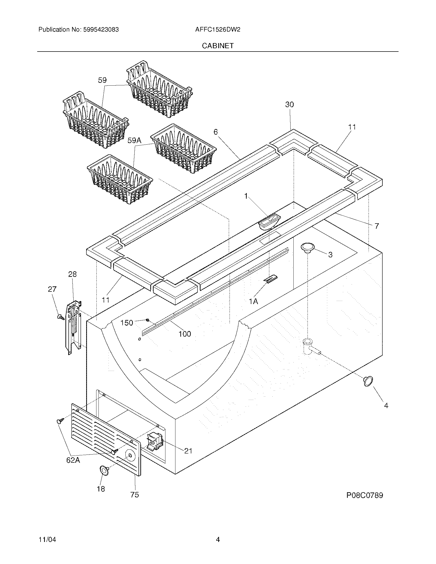
AFFC1526DW2 05 – CABINET